
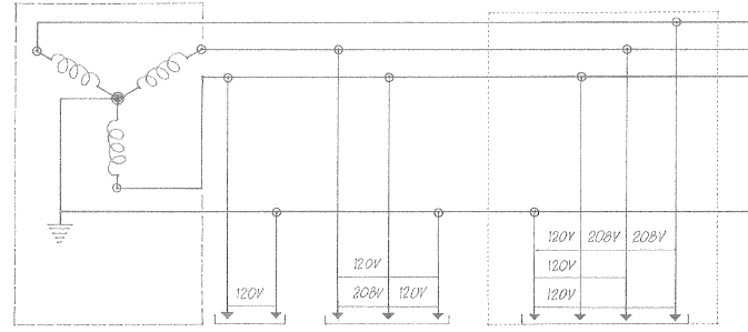
Which voltage types are
1 - Utility company transformer
2 - 120V = single phase, two wire
3 - 120/208V single phase, three wire (120/240V residential)
4 - 120/208V three phase, four wire (all but largest installations)
5 - Grounded neutral
What is the sequence of flow for electrical current supplied to a building’s panel boards. (7)
building PANEL boards
What is the purpose of a transformer?
Used by med-large sized buildings to step down from a high-supply voltage to the service voltage.
A - List the 5 types of conduit shown below.
B - What 3 pieces of information are shown on the second conduit?

A
B
A - What is the purpose of a panelboard?
B - Describe the various types of circuits fed by the panelboard. (4)
A - CONTROL, DISTRIBUTE, PROTECT similar branch circuits
B - Circuit types?
How is electrical current typ. supplied to doorbells, thermostats, intercoms, and HVAC systems?
LOW-VOLTAGE CIRCUITS
List the typical mounting heights in the locations called out below:

Countertops/kitchens: one every 1220(4’)
OR one every 3.7m2(40ft2) for first 37m2(400ft2) and one every 9.3m2(100FT2)
Describe each of these outlets:


How many of these electrical plan symbols can you identify?


How many of these electrical plan symbols can you identify?


How many of these electrical plan symbols can you identify?


List and describe the 4 switch types.

Define the following terms and their unit of measure:

Define the following laws of physics which govern light calculations:


Define brightness & glare(2 types).
+renders colour well
+dims easily with rheostats
-low efficacy

+efficacy 50-80 lumens/watt (converts power to luminous flux)
-ability to render colour varies

+efficacy of flourescent but form of incandescent
Identify the luminaire element shown below & describe it’s function.

