Aerodynamics Flashcards

Practice Exam Cards to test your Aerodynamics Knowledge (20 cards)

1
Q

Overpitching could be rectified by …

A

lowering the collective and opening throttle

How well did you know this?
1
Not at all
2
3
4
5
Perfectly
2
Q

An autorotative flare before landing is desirable to …

A

decrease rate of descent and forward airspeed

How well did you know this?
1
Not at all
2
3
4
5
Perfectly
3
Q

When the cyclic stick is moved forward in a helicopter with no advance angle you would expect the swash plate to …

A

tilt right

How well did you know this?
1
Not at all
2
3
4
5
Perfectly
4
Q

A helicopter in forward flight is dynamically and statically stable in what plane …

A

in the yawing plane only

How well did you know this?
1
Not at all
2
3
4
5
Perfectly
5
Q

The Centre of Pressure (CoP) of an aerofoil is …

A

a point along the chord line of an aerofoil through which the resultant or total reaction of all aerodynamic forces is siad to act

How well did you know this?
1
Not at all
2
3
4
5
Perfectly
6
Q

During autorotation, the rotor exerts friction forces on the transmission tending to …

A

yaw the aircraft left

How well did you know this?
1
Not at all
2
3
4
5
Perfectly
7
Q

With a delta three hinge, the flapping hinge is set at an angle so that …

A

when the blade flaps the pitch angle is altered

How well did you know this?
1
Not at all
2
3
4
5
Perfectly
8
Q

Overpitching is caused by …

A

increasing the collective to the extent that engine power cannot overcome rotor drag

How well did you know this?
1
Not at all
2
3
4
5
Perfectly
9
Q

An aerofoil produces lift by …

A

deflecting the airflow and causing an increase in velocity of the air flowing over the top surface

How well did you know this?
1
Not at all
2
3
4
5
Perfectly
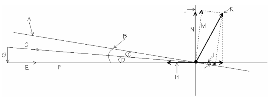
10
Q

Refer to the Vector Diagram below:

The diagram represents the forces and airflow acting on a section of rotor blade during a steady hover in nil wind. Vector G represents the …

A

induced flow

How well did you know this?
1
Not at all
2
3
4
5
Perfectly
11
Q

The flapping action in a fully articulated main rotor system during sideways flight causes the advancing blade to …

A

rise and accelerate

How well did you know this?
1
Not at all
2
3
4
5
Perfectly
12
Q

The total reaction force is defined as …

A

the resultant of the pressure forces acting on an aerofoil

How well did you know this?
1
Not at all
2
3
4
5
Perfectly
13
Q

Drag is defined as …

A

the component of total reaction acting parallel to the relative airflow

How well did you know this?
1
Not at all
2
3
4
5
Perfectly
14
Q

The component of total reaction acting in the plane of rotation opposite to torque is called …

A

rotor drag

How well did you know this?
1
Not at all
2
3
4
5
Perfectly
15
Q

The most likely time that LTE would be experienced is …

A

during low airspeed manoeuvers with high main rotor pitch

How well did you know this?
1
Not at all
2
3
4
5
Perfectly
16
Q

What is the chord line of an aerofoil …

A

a straight line drawn from the centre of curvature of the leading edge of an aerofoil to the centre of the training edge of an aerofoil

17
Q

Centrifugal force acts …

A

outwards parallel to the plane of rotation

18
Q

The Angle of attack will increase if …

A

The pitch is increased

19
Q

The lift formula is written as …

A

Lift = CL x half Rho x V2 x S

20
Q

With respect to the lift formular, if the air density is increased, lift will …