What makes up the skeleton of the head?
Skull, mandible, hyoid apparatus, ossicles of the ear, cartilages of the ear and nose.

Define the face, cranium and the mandible.
Face - boney extension of the skull enclosing nasal cavity and forming the roof of the mouth. Cranium - boney box protecting the brain. Mandible - lower jaw bone
The skull has two materials of origin, name and describe them with an example of a structure from each.
Endochondrial bones - arise from unpaired (mainly) structure - eg Basisphenoid. Intramembranous bones - arise from foci developing in mesenchyme, paired - Frontal.
Name the unpaired bones of the skull.
Supraoccipital, Basioccipital, Basisphenoid, Presphenoid, Ethmoid, Vomer
Name four paired bones of the skull.
Temporal, Frontal, Parietal, Exoccipital, Nasal, Maxilla, Zygomatic, Palatine, Lacrimal, Pterygoid, Mandible, Dorsal, Ventral and ethmoid turbinates.
Label the bones of this laterally placed skull. (x7)

Incisive, nasal, maxilla, frontal, parietal, zygomatic, temporal
Label the bones of the ventral skull. (x9)

Occipital, bulla, pterygoid, vomer, maxilla, incisive, palatine, presphenoid, basisphenoid
Draw the structure of the primary and secondary palate and describe their development. What definitive structures does each form?
What does failure do close of the primary and secondary palates result in?
Primary - unpaired semilune shape - lip and incisive bone,
Secondary - paired, move to midline from the side - hard and soft palate.
Failure to close the primary palate results in cleft lip, and failure to close the secondary palate results in cleft palate. AKA Congenital oronasal fistula – an abnormal communication between the oral and nasal cavity. Aspiration pneumonia

Describe the structure of the occipital bone.
What condition can be caused with improper development of this bone? Describe
Foramen magnum bordered dorsally by the supraoccipital, laterally by paired extraoccipital and ventrally by the baseoccipital.
Syringomyelia - Congenital condition (CKCS), undersized occipital bone (hypoplasia) . Cerebellum becomes pressed against the foramen magnum & interrupts normal flow of CSF. Pockets of CSF build up within the brain causing the neurological conditions. FM may be keyhole shaped.

Describe the anatomy of the tympanic bulla.
Part of the temporal bone. Contains the middle ear. Filled with air in the healthy animal. Bounded laterally by the tympanic membrane covering the external auditory meatus.
Draw and label the bones and cartilages of the hyoid apparatus.
What is the function of this structure?
Which structure is unique to the horse?
The hyoid apparatus forms a suspensory mechanism for the tongue and larynx. Lingual process of the basehyoid bone

Name the foramina of the skull (x9)

What problems arise from the abnormal shape of the brachycephalic dog skull?

What are the three main dog and cat head shapes? Name a breed with each.
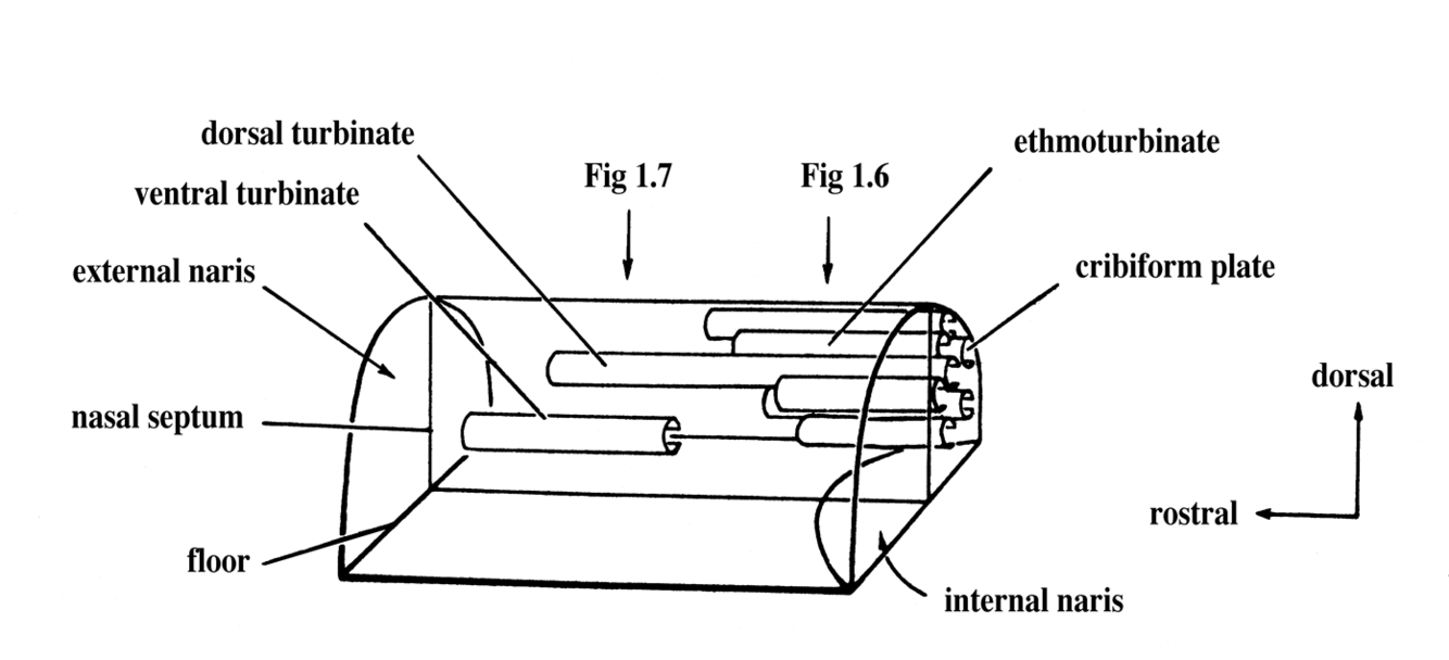
What is the function of the nasal cavity and how are these achieved? (x3)
Describe the turbinate bones (x3) (basic description)

Name the four meati found within the nasal cavity. What are their functions?

What is a paranasal sinus? Name the main ones of clinical importance. What functions do they serve?
Air-filled diverticula (out pocketing) of the nasal cavity. Frontal and maxillary. Mechanical protection, Thermal protection, Enlarge skull without adding weight
Draw and describe the frontal sinus. (of the dog)

What rules two rules are vital to remember when euthanasing animals via shooting?
Draw and describe the maxillary sinus of the dog and cat.
Often known as the maxillary recess since it communicates so freely with the nasal cavity.

How do the palatine and maxillary sinus communicate in the horse?
(HINT: Draw)

Draw the arangement of the sinuses in the horse.

How does the maxillary sinus of the horse alter with age?
Young horse: Lateral parts of the maxillary sinus are much smaller due to the unerupted cheek teeth occupying the maxillary space.
