Helicopter Recovery Patterns for Starboard Side Spots

Condition I / Alert 5
The helicopters shall be spotted for immediate launch with rotor blades spread, starting equipment plugged in, and the LSE and starting crewman and ordnance personnel ready for launch in all respects. When the word is passed “Standby for launch,: engines shall be started without further instructions; however, launch shall be positively controlled from PriFly. Aircraft should be airborne within 5 minutes of order to launch.
Night Overwater Passenger Transfer
Night overwater helicopter passenger flights are prohibited except in operational necessity… This does not preclude troop movement in support of amphibious exercises.
Note: Troop movement includes all operationally required key personnel needed to plan and accomplish the assigned amphibious, special warfare and EOD missions as designated by the CATF/CLF/OTC. This authorization does not include civilians or any military personnel assigned administrative missions or being moved as a matter of convenience.
Helicopter Departure Procedures - Case I
Visual Meteorological Conditions Departure to Rendezvous This departure may be used when IMC is not anticipated during departure and subsequent rendezvous. Helicopters shall clear the control zone are or below 300ft or as directed by PriFly.
SAR Helicopter
When at sea, the HSC detachment shall designate a SAR helicopter to be maintained, during daylight hours and when operationally feasible, in Condition IV for SAR/MEDEVAC contingencies. A SAR crew shall be designated and promulgated in the air lan. The designated crew shall remain the duty SAR crew until properly relieved by another crew; brief and preflight complete. The helicopter may be utilized for local administrative, logistic, or training functions while in standby status. The embarked squadron.detachment should assume SAR/MEDEVAC standby whenever the ship’s HSC detachment helicopter is not operationally ready for SAR.
Hotel Flag

Weather Minimums for Night EMCON
Shall be 500ft above the normally prescribed delta pattern and a minimum of 3nm visibility with a well defined horizon
Nonstandard Helicopter Landing Patterns
Cross-Deck: shall be flown the same as a standard landing pattern except the approach shall continue across the flight deck to assigned landing spot
Helicopter Around Stern: starboard spots may be utilized by entering the normal Charlie pattern, calling abeam port quarters, descending to 200ft by the astern position, continuing up the starboard side to intercept an approximate 45* angle to the spot and then straight in
Helicopter Modified Straight In: PriFly may approve a straight-in approach to the spot depending on traffic in the pattern
Helicopter Charlie Pattern
Left hand racetrack pattern on the port side of the ship. Upwind leg parallels the BRC. All aircraft shall enter the Charlie pattern as depicted in figures 6-1, 6-2, and 6-3 unless otherwise directed by PriFly or AATCC.
LHD Flight Deck

Simultaneous Well Deck Operations
When conducting simultaneous well deck operations, consideration must be given to minimizing well deck lighting because of the adverse effects of non-NVD-compatible lighting. Ships should make 1MC announcements every 30 minutes during NVD operations to remind personnel of required light discipline. For example: “All hands are reminded that NVD operations are in progress. Maintain strict light discipline throughout the ship.”
Prep Charlie
Aircraft cleared to prep Charlie shall conform to normal Charlie pattern entry procedures and once established in the pattern, conform to the racetrack pattern depicted in figures 6-1 through 6-3 until cleared by PriFly.
Combat Cargo Officer
Responsible for the safe and orderly flow of troops, passengers, mail, and cargo.
SAR equipment
Note: Helicopters performing night over-water hover operations shall be equipped with operable stabilization and automatic hover equipment, or have sufficient external reference, either natural or artificial, to enable the pilot to establish and maintain a stabilized hover.
Vertrep Locations - LHA1

Standard Helicopter Landing Pattern
For port spots, starts not later than abeam the intended point of landing with a turn to intercept the 45* line at the 90* position. When approaching a spot immediately in front of a spot occupied by another helicopter, the final portion of the approach on the 45* bearing should terminate at a point directly abeam the intended landing spot. The final transition is flown by sliding sideways to a hover over the landing spot.
Waveoff
Shall be executed:
Helicopter Approach Procedures - Case III
Case III procedures shall be used whenever the weather conditions at the ship are below Case II minima, or when no visible horizon exists, or when directed by the commanding officer or OTC. Positive control shall be provided by AATCC from letdown through final approach until the flight leader/pilot reports ship in sight and requests to proceed visually. Case III formation recoveries are not authorized except when an aircraft experiencing difficulties is recovered on the wing of another aircraft. Formation flights by dissimilar aircraft shall not be attempted except in extreme circumstances when no safer recovery method is available. A straight-in, single-frequency approach shall be provided in all cases. Precision radar shall be used whenever available.
Helicopter Safety Precautions (Different from 80T-105)
Dual-engine helicopters shall not be intentionally hovered single engine over a deck spot. if topping checks cannot be performed in contact with the deck, they must performed in flight at an appropriate altitude.
Any helicopter parked Tail-Over-Water should have cargo ramp (if so equipped) in full-up position
Helicopters landing behind engaged tail rotor aircraft shall not conduct cross cockpit takeoffs or landings for LSE safety
Cautions: When launching/recovering, damage from downwash to aircraft stowed abeam the spot in use may occur even when folded, crutched and properly secured.
Combination of relative winds and rotor downwash when landing a helicopter/tiltrotor immediately adjacent to a spot occupied by a shutdown helicopter, not folded and secured, may cause rotor damage to the shutdown helicopter. Rotor blade tiedowns alone may not be sufficient to preclude rotor blade flapping and subsequent damage.
Communications Control
All aircraft shall be under positive communications control while operating at sea unless otherwise directed.
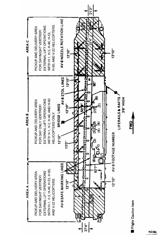
Helicopter/Tiltrotor Landing Spot Diagram

Condition II / Alert 15
The same conditions apply as for Condition I, except that flightcrews are not required to be in the helicopter, and rotor blades may be folded or tied down. Aircrews shall be on immediate call, if rotor blades are folded, the blades shall be run through a unfold/fold cycle to ensure operability. Aircraft should be airborne within 15 minutes of order to launch.
Helicopter Detachment Personnel Attached to Amphibious Aviation Ships
Helicopter detachment personnel attached to amphibious aviation ships shall not be assigned additional collateral duties. The requirements of the helicopter to fly or to be immediately ready to fly around the clock puts the helicopter detachment personnel on a 24-hour call basis.
Close Proximity Operations
…when this occurs, CVs, LHAs, and LHDs should be assigned operating areas of sufficient size to preclude mutual interference. Operational constraints may at times require aviation and/or amphibious aviation ships to operate within 10nm of one another, creating a conflict of overlapping control zones… the OTC shall promulgate special instructions (SPINS) that delineate the limits of each ship’s airspace control, as well as the procedures to be used for VMC operations between contiguous control zones.