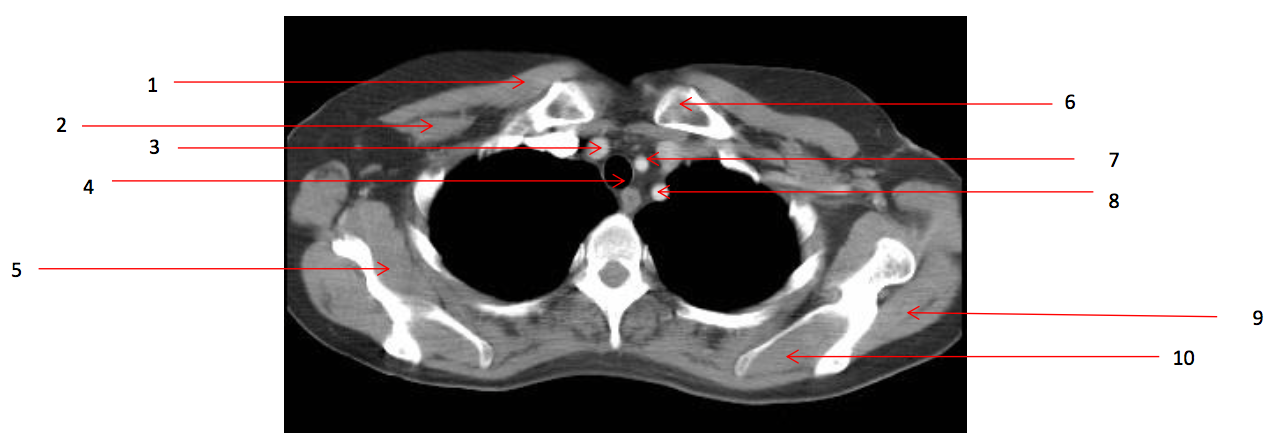
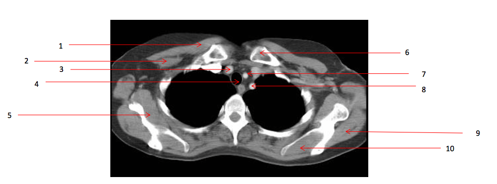
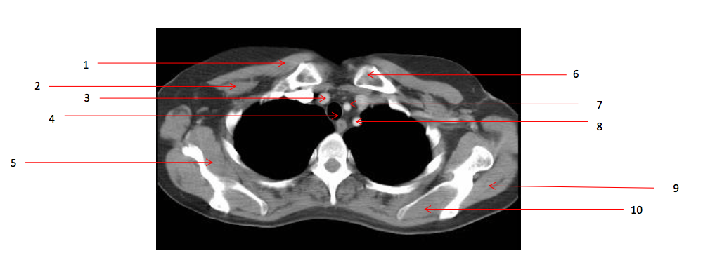
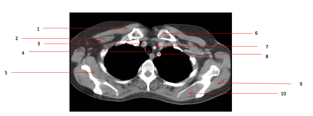
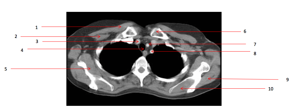
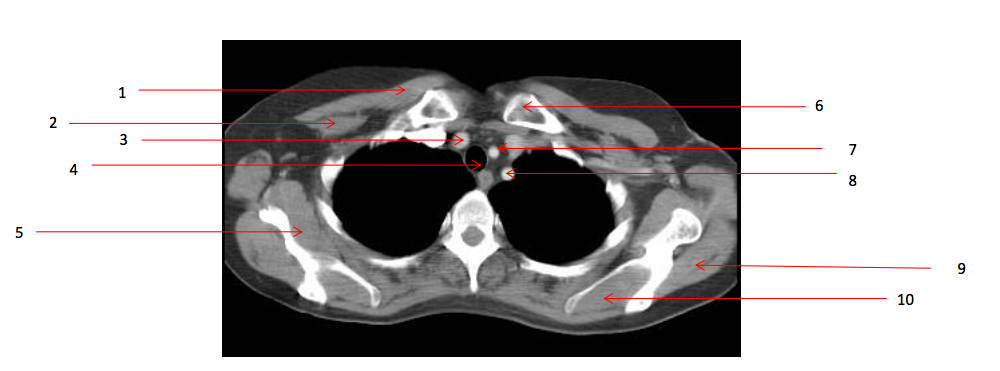
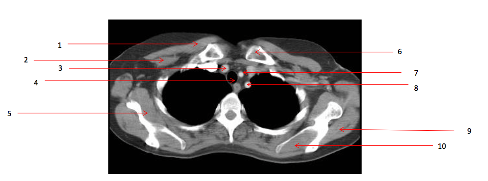
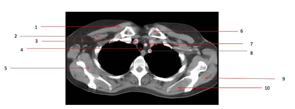
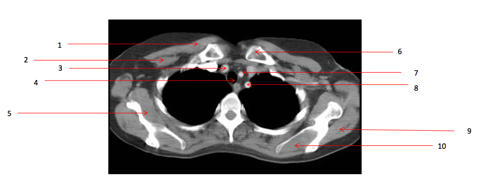
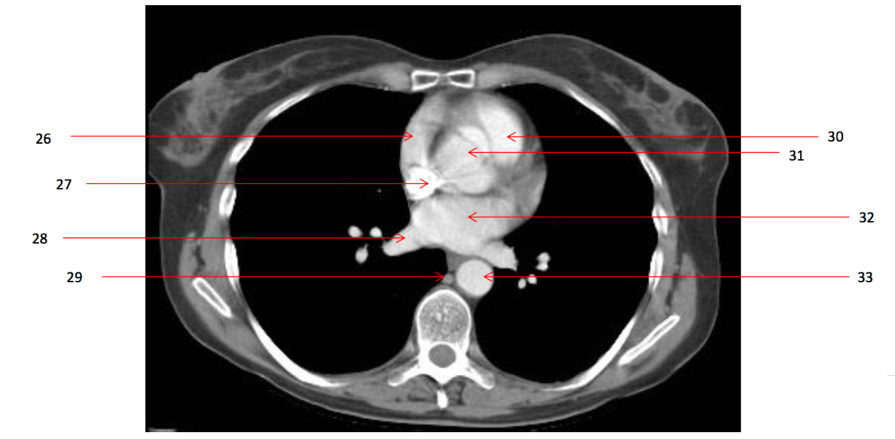
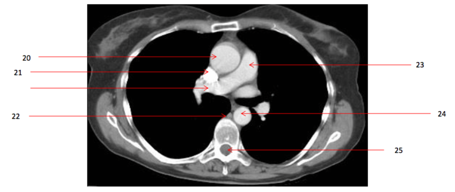
Number 2?

Rt pectoralis minor muscle
Number 6?

Lt clavicle
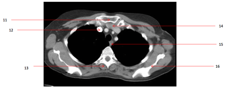
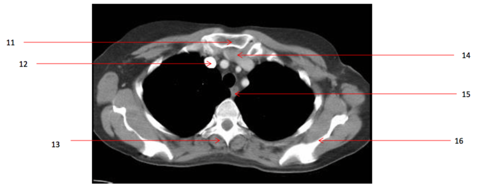
Number 10?

Lt supraspinatus muscle
Number 1?

Rt pectoralis major muscle
Number 8?

Lt subclavian artery
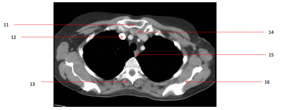
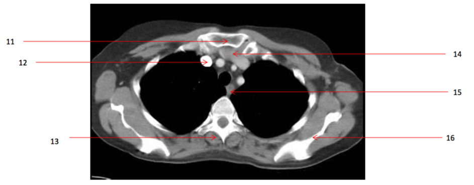
Number 4?

Trachea
Number 7?

Lt common carotid artery
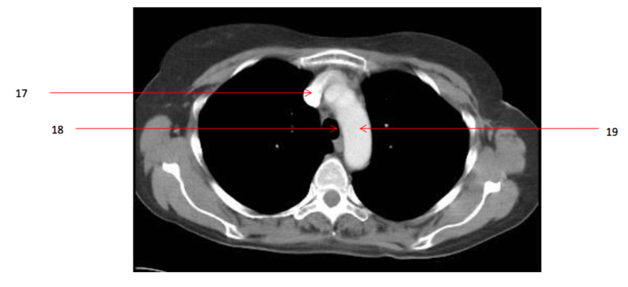
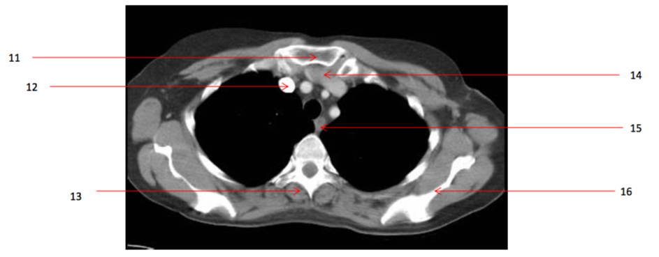
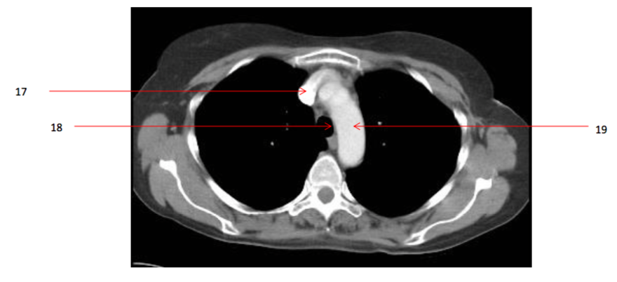
Number 19?

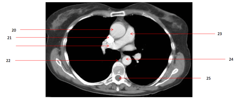
Arch of aorta
Number 5?

Rt subscapularis muscle
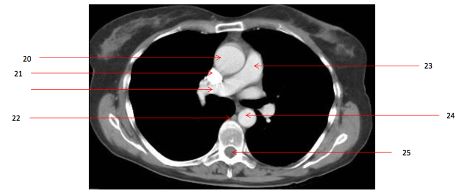
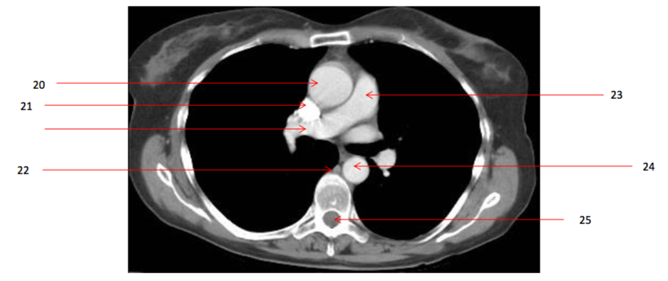
Number 13?

Rt erectae spinae muscle
Number 9?

Lt infraspinatus muscle
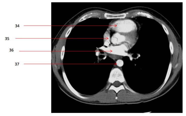
Number 23?

Pulmonary trunk
Number 16?

Lt scapula
Number 33?

Descending thoracic aorta
Number 14?

Lt brachiocephalic vein
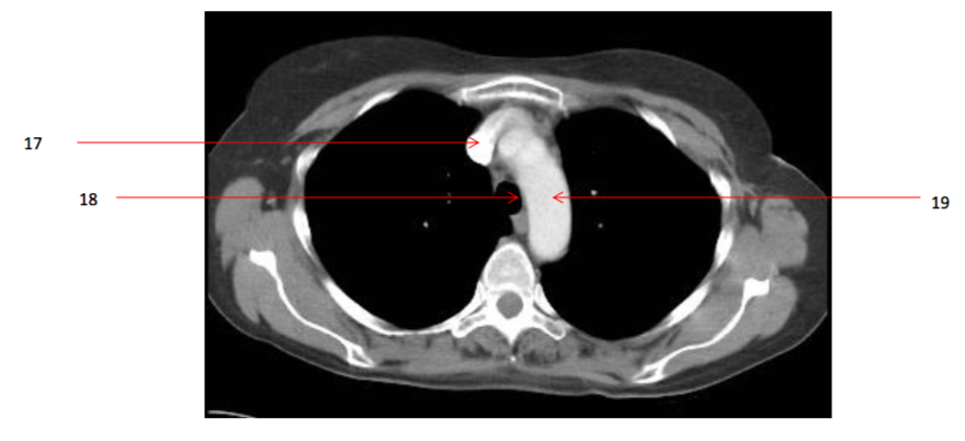
Number 17?

SVC
Number 11?

Sternum (manubrium)
Number 20?

Ascending aorta
Number 18?

trachea
Number 12?

Rt brachiocephalic vein
Number 36?

Lt atrium
Number 21?

SVC
Number 22?

Azygos vein
Number 3?

Brachiocephalic artery