מהם סוגי השבץ שיש ומה הנפח של כל אחד מהם מבין המקרים?
איסכמי- חסימה של כלי דם - 85%
המורגי- דימום של כלי דם במח- 15%
אילו מערכות דם מספקות את המח?
internal carotid מספק את האונה הפרונטלית, פריאטלית, ורוב הטמפורלית. החלק הקדמי של המח. מתפצלים ממנו

ACA Anterior cerebral artery מה ההתייצגות הקלינית של פגיעה ב?
שיתוק של הרגל בצד הנגדי, הפרעה תחושתית ברגל בצד הנגדי, ייתכנו גם סימנים פרונטליים כמו אפתיה, חוסר שליטה בסוגרים.
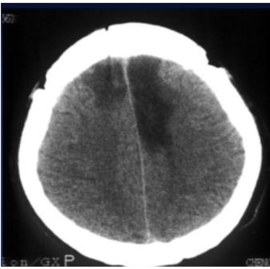
בצילום- החלק ההיפודנסי (כהה) מלמד על שבץ מוחי איסכמה שמתאים לעורק השמאלי.

MCA- middle cerebral artery מה ההתייצגות הקלינית של פגיעה ב?
מספק את רוב ההמיספרה, ההמספירה הדומיננטית היא זו שיושב בה מרכז השפה, במרבית האנשים המיספרה שמאל (ימנים). חסימת האספקה להימספרה הדומיננטית תתבטא ב:
אם שני המרכזים נפגעים זה נקרא אפאזיה גלובלית

מספק ואיך תתבטא חסימה שלו internal carotid את מי?
ACA, MCA
יש שתי אפשרויות לתסמינים הקליניים בעקבות חסימה
איך נקרא עיוורון חולף בעין אחת או שתיהן ועל מה הוא מרמז?
Amaurosis fugas
חשוב לבצע הדמיה ולבדוק את הקרוטיד, אם מוצאים מחלה אפשר לעשות ניקוי דחוף של העורק מה שיכול למנוע אירוע קטסטרופלי בעתיד

איך נראית פגיעה במערכת האחורית של המח?
Vertebro basilar arteries?
סחרחורות, בחילות והקאות
הפרעות בשדה הראיה
תיתכן מעורבות עצבים קרניאליים
PCA- תזכורת, העורק שמספק את המח ממערכת זו הוא ה
LMN לעומת וֹUMN איך תיראה פגיעה ב?
UMN
מעל הגרעיו, תגרום לפגיעה בעצבוב זווית הםה הקונטרה לטרלית
LMN
בגובה או מתחת לגרעין, תגרום לפגיעה איפסילטרלית (באותו הצד)

מה ההבדל בין שבץ איסכמי לשבץ המורגי בהדמיה סמוך לאירוע?
איסכמי- לרוב בשעות הראשונות הסיטי יראה תקין
המורגי- בהדמיה יראו איזור לבן היפרדנסי
מה הסיבות השכיחות לשבץ?

כל מקרה של חסר נוירולוגי שמופיע בבת אחת הוא שבץ
אוקי לא לצעוק
penumbraמהי רקמת ה
core מהי רקמת ה
בשבץ
penumbra- רקמה שעברה נזק הפיך, ככל שנטפל בחולה יותר מהיר היא תוכל לחזור לפעילות בעתיד
core- הרקמה שיש בה נזק איסכמי בלתי הפיך ולא נוכל להציל לא משנה מה נעשה
הפגיעה הולכת ומתפשטת עד שכבר אחרי 4 שעות אין כמעט מה להציל

מהם הטיפולים העיקריים לשבץ?
ממיס את קריש הדם שנוצר, משמעותי בהחלמה לאחר השבץ תופעת הלוואי העיקרית היא דימום ולכן צריך לבחור את המטופלים המתאימים, החלון הרלוונטי הוא של 4.5 שעות לאחר האירוע (למרות שיעיל גם 9 שעות לאחר האירוע)
צריך לקחת אנמנזה מפורטת כי יש חולים שלא יכולים לקבל את הטיפול (למשל חולים שלוקחים תרופות אנטיקואגולנטיות, מטופלים לאחר ניתוח),
היכולת לצנתר מוגבלת, ועורקים רבים במח לא ניתן בכלל לצנתר. צריך לעשות סיטי פרפוזיה וסיטי אנגיו כדי לבדור אם המטפל מתאים לצנתור. הרבה מטופלים לא מתאימים לצנתור, למשל אלו שנחסמו אצלהם כלי דם קטנים או כאשר היה קריש גדול שפורק. הצנתור לא מוגבל בזמן מאז שהתחיל האירוע אלא על ידי מאפיינים קליניים
לא חייבים לבחור רק טיפול אחד מהשניים, אם יש מטופל שמתאים לשניהם נותנים את שני הטיפולים.

מה התנאים האופטימליים לחידוש הפנומברה במח?
מה יכולים להיות הסיבוכים של שבץ אקוטי?
מטפלים לפי מצבו הקליני של המטופל ולא לפי הממצאים בהדמיה
איזו מניעה שניונית אפשר לתת לשבץ מוחי?
לפי אטיולוגיה
TIA-Transient ischemic attack מהו?
אירוע איסכמי חולף שיעבור תוך 24 שעות
צריך לעשות הדמיה כדי לבדוק מה הגורם
מה דרכי הטיפול התרופתיות לאחר שבץ?
אם המטופל נאיבי- אספירין וסטטינים
פלביקס לתקופה ראשונית של עד 3 שבועות
אם השבץ על רקע פרפור פרוזדורים (ורק אם יש הוכחה לפרפור)- משתמשים בתרופות מסוג
novel antithrombotic agents in the coagulation cascade( NOAC
איך אפשר לעשות איזון גורמי סיכון בשבץ ולמה זה חשוב?
איזון גורמי סיכון יכול להביא ל85% מניעה
קרוטיד סטנוזיס-
סיפמטומים
טיפול
יכול לגרום לשבץ, מדובר על היצרות מעל 70%
אפשר לטפל דרך:
הטיפול המוצלח מבין השניים לחולים מבוגרים מבחינת תמותה ואירעות שבץ לאחר הפרוצדורה. מומלץ אלא אם יש המלצת נגד
אם יש היצרות לא סימפטומטית נשקול לטפל במידה והיא משמעותית, אם המטופל צעיר ואם יש התקדמות מהירה בהיצרות.
PFO patent foramen ovale מהו
ומה הקשר לשבץ? איך מטפלים?
שכיחות כ25% באוכלוסיה, חור במחיצה הבין עלייתית. אם מוצאים את הפתולוגיה לאחר שבץ צריך לבצע הדמיה של ורידי האגן לרגליים בשביל לשלול פקקת ורידים (אם יש קרישים יכולים לעבור יחסית בקלות לחדר השמאלי של הלב מבלי לעבור בריאות). חולים אלו חייבים לטפל טיפול אנטי קואגולנטי.
יש מבחן ספציפי שדרכו מודדים אם יש הצדקה רפואית לסגירת החור.
אילו סוגים של דימום מוחי יש? מה הסיבות השכיחות יותר ופחות לדימומים?
יש דימום עמוק (שמאל|) ודימום קורטיקלי (ימין)
פגיעה של דופן כלי הדם שמתרחשת עם הגיל, עולה משמעותית מעל גיל 70.
שתי הנל מהוות את הסיבות השכיחות ביותר
ועוד
במה שונה שבץ המורגי לעומת איסכמי? מבחינת תסמינים
יותר כאבי ראש, יותר דימומים, יותר הקאות
לרוב הדימום יותר קשר מהשבץ האיסכמי
מתי טיפול כירורגי רלוונטי בשבץ המורגי?
כשהפגיעה היא בצרבלום, האינדיקציה לניתוח היא דימום מעל 4 סמ