How many degrees is Horizontal optimum eye rotation
Each human eye can see about 15 degrees

Horizontal limit of word recognition
10° - 20° from standard line of sight (center)

Horizontal limit of symbol recognition
between 5° - 30° from the standard line of sight (Center)

Horizontal color discrimination
between 30° - 60° in each direction, depending on the specific color

Vertical optimum eye rotation
30° below the standard line of sight, and the maximum eye rotation is at 25° above the standard line of sight.

Vertical limit of color discrimination
between 40° below the standard line of sight, and 30° above the standard line of sight.

Vertical limit of the visual field
70° below the standard line of sight, and 50° above the standard line of sight

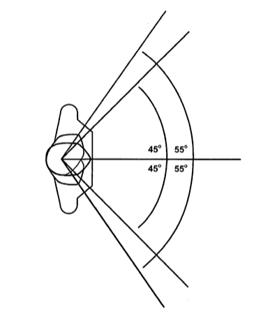
Horizontal comfortable head movement
falls between the 45° lines

Vertical Comfortable head movement
falls between the 30° lines.

Typical Table Height
typically 29 inches (736mm) high but can range from 25 to 32 inches (635mm to 812mm)
Typical Chair Height
18 to 22 inches (457mm to 558mm) for most fixed seating, and 22 to 26 inches (558mm to 660mm) for most movable chairs
Typical Counter Height
typically 36 inches (914mm) high but can range from 32 to 42 inches
Circulation Space
Circulation space is the amount of area a person needs to tum around without disturbing other people. According to Fruin, this area is 10 to 13 square feet, or .93 to 1.21 square meters per person .
Optimal range of table space
width is about 24 - 30 inches (61 - 76.2 cm) per seated person
Two Types of Seating Layouts
aligned or staggered
2 Types of floor lay ouyts
Flat, sloped and tiered