Quelle est la fonction des fondations ?
Les fondations sont soumises à deux principaux types de charges, lesquels?
Qu’est-ce que le tassement? vs fondation bien conçue..?
Pourquoi faut-il prévoir un certain tassement durant la construction?
Car l’augmentation de la charge sur les fondations lorsque la construction avance fait diminuer le volume d’eau et d’air dans le sol
Selon quel type de sol le tassement est-il rapide ou lent?
Identifier les deux grandes catégories de fondations.
Fondations superficielles :

Fondations profondes :

Facteurs qui influent le choix et la conception du type de fondations ? (6)
Qu’est-ce qu’un empattement ?
Empattements : quoi faire pour contenir le tassement?
Si les empattements ne sont pas sur un sol stable, non remanié et exempt de matière organique, il faut utiliser un remblai spécialement conçu, compacté en couche de 8po à 12po et à teneur en eau déterminée, pour augmenter la profondeur.
Pourquoi les empattements doivent-ils être sous le niveau du gel?
Pour réduire au minimum les effets du gonflement du sol résultant du gel et de l’expansion des eaux souterraines par temps froid.
Quels sont les deux types d’empattement les plus courants?
Qu’est-ce qu’une semelle filante?
Empattement continu des murs de fondation

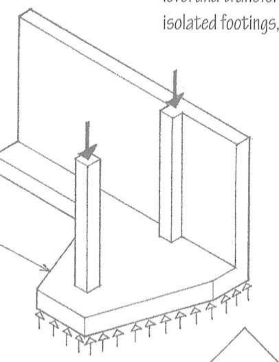
Qu’est-ce qu’une semelle isolée?
Empattement soutenant un poteau autoportant.

Identifier 5 autres types d’empatemment.
Les semelles en gradins sont appropriées dans quelles conditions?
Suit un terrain variable

Qu’est-ce qu’une semelle en porte-à-faux?
Semelle isolée raccordée à une autre semelle.
Aussi nommée semelle à poutre de rigidité.

Qu’est-ce qu’une semelle combinée?
Porte une rangée de poteaux.
Aussi nommée semelle continue.

Qu’est-ce qu’un radier?
Quand est-ce utile?

Qu’est-ce qu’une fondation flottante?
Utilie pour quel type de sol?

À quoi les murs de fondations doivent-il résister? (4)
Les fondations doivent transférer au sol….?
… les charges latérales s’exerçant sur la structure.
Identifier deux types de matériaux pour murs de fondation en béton.