elemental mercury
Hg 0
inorganic mercury
Hg(II) or HgCl2 (neutral, more dangerous) or HgCl4 2- (charged, more abundant)
methyl mercury
CH3-HgCl (speciates to CH3-Hg-OH, both are neutral)
dimethyl mercury
CH3-Hg-CH3
global mercury cycle
-Hg in oceans/atmosphere is oxidized to Hg 2+ -bacteria take up Hg 2+ and convert it to elemental mercury under aerobic conditions -under anaerobic conditions, bacteria can convert methyl sulfides -> methyl mercury (main source of mm) -Hg in atmosphere is almost all elemental -light converts Hg 0 –> Hg(II) -most mercury in ocean is Hg(II)
_______ do not cross lipid bilayers
charged molecules
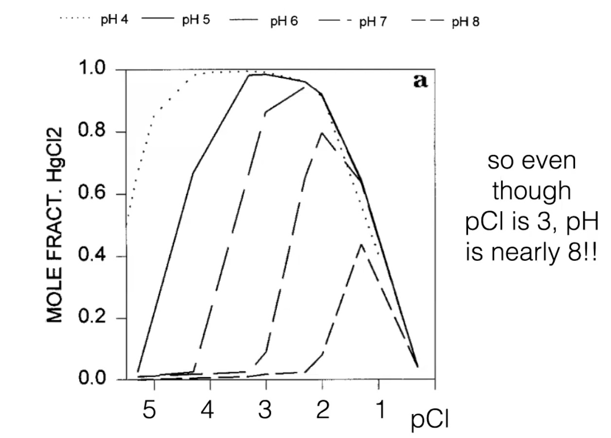
What is wrong with this image?

ocean pCl is 3, pH ~8 this is for the wrong pH, pH affects speciation

Why doesn’t inorganic mercury get into cells even though it’s so abundant?
the majority of it is in a charged form at the pH and pCl of seawater, can’t cross membranes (only 5-10% is in the right form to cross over)
inorganic mercury inhibits the growth of diatoms at ______?
-low salinity -inorganic mercury is more/less toxic depending on salinity
why is inorganic mercury toxic to diatoms?
-enters the cell as HgCl2 but dissociates to Hg+ and Cl- once inside -associates with some of the proteins in the cell
sulfhydryl groups
-reactive -Hg 2+ can displace the hydrogen on the SH group binding to proteins
What compound is this?

cysteine (amino acid)
Why does -SH binding matter for cell function?
-cell division is mediated by proteins called microtubules -can no longer divide
inorganic vs. methyl mercury’s ability to enter a cell
-inorganic mercury tends to be stuck on the surfaces of things while methylmercury is more effective at getting into the cell -IM is stuck in membrane while MM gets out, hypothesis: the cell has a mechanism to remove inorganic mercury but not MM
glutathione
-at low doses, protects cell from both types of mercury -when elimination is blocked, inorganic mercury becomes more toxic while MM is unaffected
lipid bilayer contains
-transporters and channels that bring in nutrients, remove pollutants, or allow the cell to communicate with its neighbors
Why is climate change increasing levels of methylmercury in fish?
warmer temps –> higher metabolisms –> eating and digesting more food –> more methylmercury