Line B Draft Flashcards

(16 cards)

1
Q

What would be the calculated theoretical draft developed by a stack 55 feet in height with an average temperature of 310°F, and the ambient temperature is 70°F?

A

0.246” w.c.

How well did you know this?
1
Not at all
2
3
4
5
Perfectly
2
Q

A boiler is firing natural gas at 4,000 Mbh with 30% excess air. What would be the calculated the volume in cubic feet per minute of flue gases leaving the flue outlet if the temperature is 450°F, and the outside air temperature is 70°F?

A

1603 cfm

How well did you know this?
1
Not at all
2
3
4
5
Perfectly
3
Q

A natural gas boiler is firing at 3 million Btu/h with 40% excess air. The ambient air temperature is 66°F and the stack temperature is 410°F. What would be the calculated velocity of the flue gas if the boiler is equipped with a 16-inch diameter stack?

A

889 fpm

How well did you know this?
1
Not at all
2
3
4
5
Perfectly
4
Q

If a stack has a velocity of 1000 fpm, what would be the calculated draft produced?

A

0.06 w.c.

How well did you know this?
1
Not at all
2
3
4
5
Perfectly
5
Q

A boiler equipped with a power burner is firing at 11 million Btu/h with 35% excess air. The combustion air duct is sized to meet the Gas Code requirements. What would be the calculated velocity through the combustion air duct if the boiler is operating at full input, the ambient air temperature is 70°F, and the stack temperature is 460°F?

A

972 fpm

How well did you know this?
1
Not at all
2
3
4
5
Perfectly
6
Q

You are called on to commission an installation of a 4,750,000 Btu/h natural gas boiler.

  • Excess air set at 30%
  • Stack diameter 18 inch
  • Combustion chamber and heat exchanger pass volume 188 ft3
  • Gross stack temperature 485 deg. F
  • Ambient temperature 76 deg. F

Based on this information what is the expected draft in the stack?

A

0.0762” w.c.

How well did you know this?
1
Not at all
2
3
4
5
Perfectly
7
Q

What factors would achieve the highest draft in a chimney?

A

Tall chimney, hot combustion products, hot ambient (outside) air

How well did you know this?
1
Not at all
2
3
4
5
Perfectly
8
Q

A mechanical draft produced by a device upstream from the combustion zone of an appliance is a definition of what type of draft?

A

Forced draft

How well did you know this?
1
Not at all
2
3
4
5
Perfectly
9
Q

A mechanical draft produced by a device downstream from the combustion zone of an appliance is the definition of what type of draft?

A

Induced draft

How well did you know this?
1
Not at all
2
3
4
5
Perfectly
10
Q

What reading would the draft pressure gauge indicate when measuring in the combustion chamber of a gas fired appliance using a force draft burner?

A

Positive pressure

How well did you know this?
1
Not at all
2
3
4
5
Perfectly
11
Q

What reading would the draft pressure gauge indicate when measuring in the combustion chamber of a gas fired appliance using a fan-assisted burner?

A

Non-positive pressure (Negative over-fire pressure)

How well did you know this?
1
Not at all
2
3
4
5
Perfectly
12
Q

What does a balanced draft system incorporate?

A

A forced draft burner and an induced draft fan

How well did you know this?
1
Not at all
2
3
4
5
Perfectly
13
Q

What type of draft control does a gas-fired appliance incorporate when using a forced draft burner?

A

Internal damper

How well did you know this?
1
Not at all
2
3
4
5
Perfectly
14
Q

Why is the draft reduced when using flue gas recirculation to control NOx?

A

Lower flame temperatures

How well did you know this?
1
Not at all
2
3
4
5
Perfectly
15
Q

Why is the draft reduced when using a scrubber (air pre-heater)?

A

Heat is removed from the flue gases

How well did you know this?
1
Not at all
2
3
4
5
Perfectly
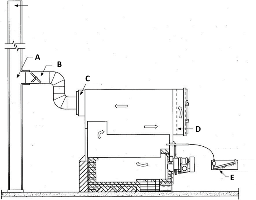
16
Q

Calculate Draft Loss

Referring to the figure below, to maintain a draft of 0.08” w.c. at E what will the draft pressure need to be across the damper B?
The draft at A should be 0.6’ w.c. and the draft losses through the appliance are as follows:

  • C = 0.12” w.c.
  • D = 0.11” w.c.
  • Elbow = 0.05” w.c. each
A

Across damper B = 0.19 “w.c.
- calculation: 0.6 – (0.08 + 0.12 + 0.11 + 0.10) = 0.19