Cleft palate Epicanthic folds Short nose Anteverted nostrils Long philtrum with thin vermilion border Learning difficulties Congenital heart disease
Fetal valproate syndrome
Cleft palate Micrognathia Glossoptosis Airway obstruction
Pierre Robin syndrome
Cleft palate thin wiry hair Fiar skin Microdontia Developmental delay Urinary tract abnormalities
EEC syndrome (ectodermal dysplasia, ectrodactyly, cleft palate)
Haemoglobinopathy result in beta thalassaemia major
Minimal or absent HbA Small amount of HbA2 Large amount of HbF
X-ray features of Ewing’s tumour
Sunburst speculated periosteal reaction
Treatment of choice for pubic lice
Permethrin
Diagnosis?

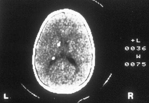
Candlewax calcification
= tuberous sclerosis
Features of PELVIS syndrome
Perineal haemangiomas
External genital malformations
Lipomyelomeningocoele
Vesico-renal abnormalities
Imperforate anus
SKin tags
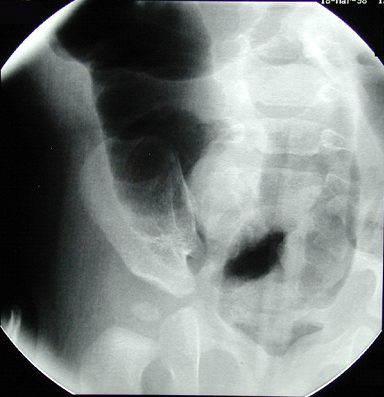
Diagnosis?

Intussusception
Presents as severe encephalopathy with myoclonic seizures, rapidly progressive, metabolic investigations all normal, often associated with hiccupping
Non ketotic hyperglycinaemia
Abnormalities to look for if hypospadias found
cryptorchidism
Chordee
Redundant dorsal hood
Inguinal herniae
Features of gelastic epilepsy
Seizures associated with laughing
Hypothalamic hamartoma or astrocytoma
Features of panayiotopoulos syndrome
Autonomic symptoms
Vomiting
2/3rds occur in sleep
Long lasting seizures
Features of PHACE syndrome
Posterior fossa abnormality
Haemangioma
Arterial lesions
Cardiac anomalies
Eye abnormalities
Threshold to give bicarbonate in DKA
pH ≤7
Features of Zellweger syndrome
Dysmorphic features
Sensorineural deafness
Peripheral neuropathy
Hepatocellular degeneration
Elevated very long chain fatty acids
Diagnosis if there is excess secretion of heparan and dermatan sulphates in urine
Mucopolysaccharidosis type 1
Features of linear morphea
Atrophic linear plaque
May have concomitant headaches or seizures
Antiepileptic causing cerebellar symptoms in toxicity
Phenytoin
Denys-Drash triad
Nephropathy
Interse genital abnormalities
Wilms’ tumour
Distinguishing feature between Bartter and Gitelman syndromes
Bartter - normal or high urinary calcium
Gitelman’s - low urinary calcium and magnesium
Features of Ellis van Creveld
Distal shortening of the limbs
Polydactyly
ASD
Features of Rothmund Thompson
Skin changes from 3 months: plaques of erythema and oedema, which gradually become hyperpigmented and telangiectatic, often in light sensitive areas
Short stature
Frontal bossing
Sparse hair with dystrophic nails
Features of junctional epidermolysis bullosa
Severe blistering
Non-Herlitz - associated with pyloric atresia