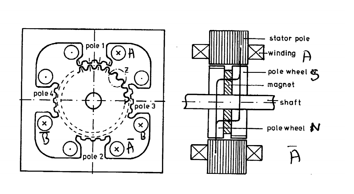
What is stepper motor comprised of?
4 - poles winding around each pole
Each stator pole has a large number of teeth
Rotor is comprised of a pair of wheels made of soft magnetic material, both carrying a large number of equally spaced teeth
Between rotor wheels is sandwhiched an axially magnetised PM
Thus one of the wheels may be thought of as the north pole and the other as the south pole wheel.
Two rotor wheels are offset by each other by exactly half a tooth pitch
How does it work?

If phase A is excited, Phase B is off
Stator pole 1 becomes a south pole and stator pole 2 a north pole
Therfore the northpole wheel will allign its teeth with teeth of stator pole 1, and south pole with stator pole 2
If phase A is turned off and B excited
Stator Pole 3 becomes South Pole
Stator pole 4 becomes north Pole
North pole alligns SP3, SP alligns SP4
Moves round by one quarter of a rotor tooth pitch
What is the rotor step angle ∆θ?
360/4t in which Nt is the number of rotor teeth per wheel
Where is maximum torque produced
At quarter rotor tooth pitch
Transient respones of an unloaded stepper motor excited by single step is shown below.
Explain?

Physically, this comes about because energy oscillates between the rotational kinetic energy due to the total moment of inertia of the rotor and the load, and the magnetic stored energy, which increases whenever the rotor moves away from new its stable position
Why must care be taken to avoid certain switching frequencies?
great care has to be taken when driving stepper motors to avoid switching frequencies that will excite the resonant frequency of the motor plus load.
If the switching frequency (or harmonics of the switching frequency) are equal to the resonant frequency then there is the possibility of increasingly large oscillations.
Ultimately this can result in the motor missing steps and becoming uncontrollable.
what is the main difference to a sinusoidal brushless DC motor?
Winding resistance is often significant and so should be considered in phasor diagram.
What are the different types of excitation startegies?
Full stepping
Full Stepping, two phases at a time
Half stepping
Micro stepping
What is use of Full-stepping- two phases at a time?
Both phases always on at same time
Irms is Irated compared to irated/ root 2
Can be ued for a short period of time to give 40% boost in torque
What is use of half stepping
Thought of as combining full stepping with one phases and full stepping with two phases
Rotor will move one eighth of a rotor pitch at a time, giving 400 steps per revolution (for standard 50 teeth rotor)
Peak phase current must be reduced for continual operation
More torque can be provided breiefly by driving motor harder, with benefit of small rotor step, so smaller position error
Explain Microstepping
Extension of half stepping
standard is 1/8th or 1/4 steps
More complex to implemt
Used as a means to provide smoother torques at cticial speeds, that lead to undersirable mechanical resonances
Explain use of drive circuits

The transistors T1, T2 are switched ON as a pair, so the current in the winding flows in one direction. To reverse the direction of the current, T1, T2 are switched OFF as a pair, and then T3, T4 are switched ON as a pair. This is known as bipolar switch mode, requiring two switches to be switched as pairs at the switching points.
For our standard 2-phase 200 step hybrid stepper motor in full-step mode, consider a speed of 1 revolution per second. This corresponds to 200 steps per second, which in turn means switching between T1, T2 and T3, T4 100 times per second
In order to control the current, to give torque control, PWM is used to vary the mean phase voltage, and typically the chosen frequency is 20 kHz.
Explain use of Bifilar Windings

Small hybrid stepper motor drives often use bifilar windings.
A bifilar winding is simply a coil wound with two strands of wire in parallel.
Applying a positive voltage to one of the strands results in the current flowing in the opposite direction to that flowing in the other strand when a positive voltage is applied.
Advantages and disadvantages of bifiar windings?
Advantages
Disadvantages