Buses Flashcards

(4 cards)

1
Q

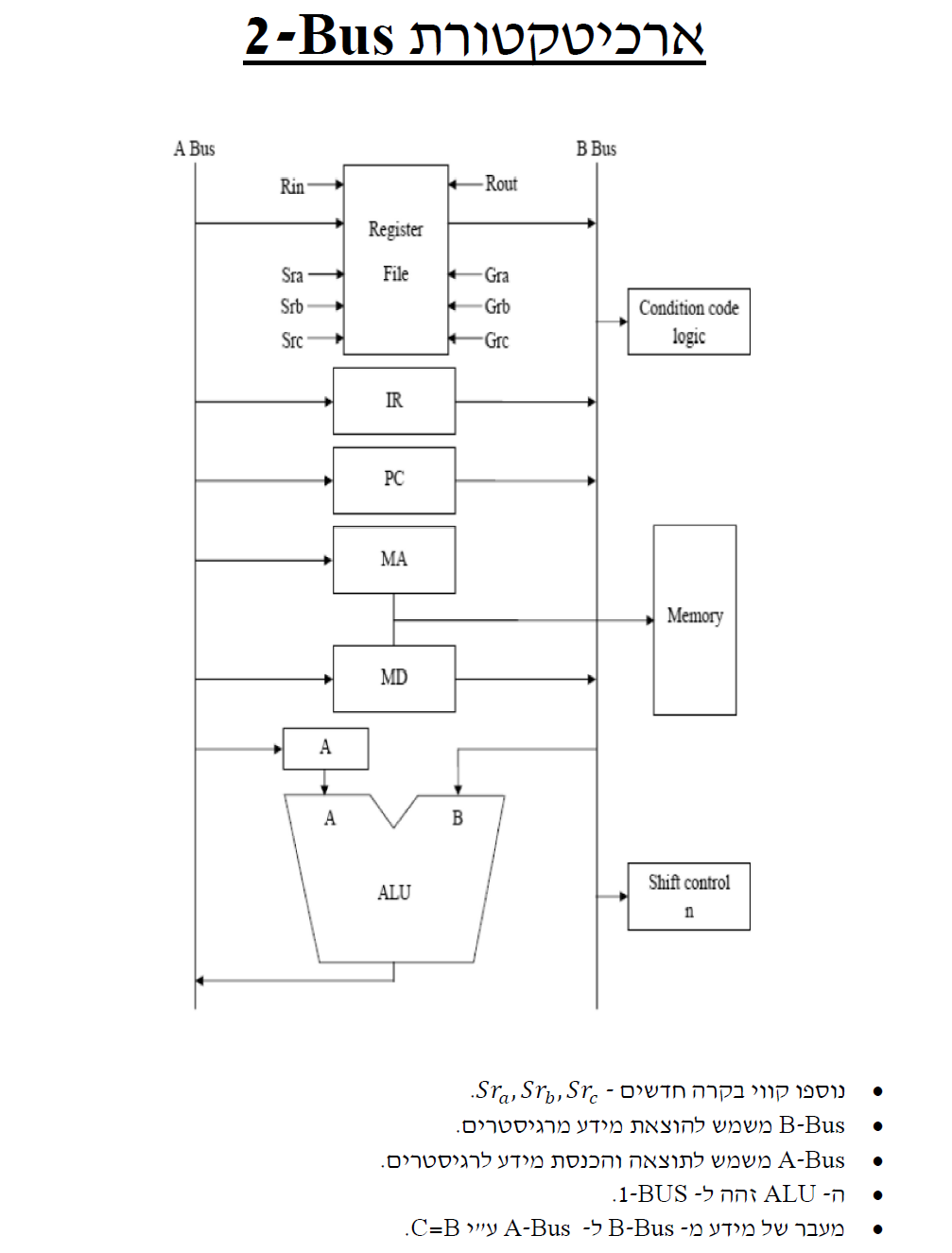
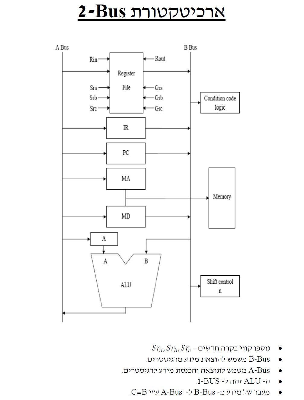
2-bus architecture - to be memorized!

A
How well did you know this?
1
Not at all
2
3
4
5
Perfectly
2
Q

3 bus architecture - to be memorized

A
How well did you know this?
1
Not at all
2
3
4
5
Perfectly
3
Q
  • why the command ld is of great use?*
  • How many steps does it take to perform “fetch” with 2-bus architecture?*
  • How many steps does it take to perform 1 operand operations with 2-bus architecture?*
  • How many steps does it take to perform 2 operands operations with 2-bus architecture?*
A

Because if we have a number of size 0<=x<=31 which is stored in some register, we can make ld save its value (5 LSB’s) in n and then we can use shift.

  • still 3 instructions
  • 1
  • 2
How well did you know this?
1
Not at all
2
3
4
5
Perfectly
4
Q

Notice

  • Speed up formula
  • fetch instruction
  • 3-bus commands compare to 2 bus(2 bus is attached here(Multiplication case))
A
How well did you know this?
1
Not at all
2
3
4
5
Perfectly