
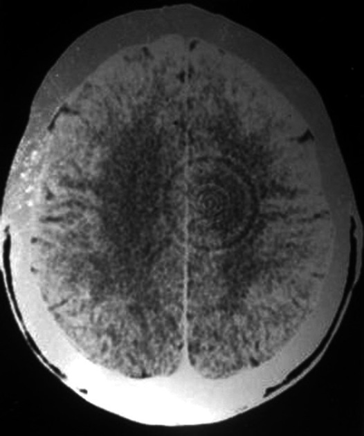
Ring artifact
due to miscalibration or failure of one or more detector elements in a CT scanner. can also be caused by insufficient radiation dose, contrast material contamination of the detector cover
occur close to the isocenter of the scan and are usually visible on multiple slices at the same location. common problem in cranial CT.
remedy is usually simple, recalibrate the scanner, or replace detector element
Beam hardening artifact
should converge on the area it’s coming from

Wraparound artifact
caused by too small FOV