What is the P-6 permissive interlock?
IR NIs ≥ 1x10-10 Amps [1/2]
Will auto unblock SR NIs ≤ 5x10-11 Amps [2/2]
CP005 lampbox light lit when IR NIs ≥ P-6
Manual Block ↑
Auto Block (P-10) [2/4]
Auto Unblock ↓
What is the P-14 permissive interlock?
SGNR Level (≥ 87.5%) [2/4 on 1/4]
Not on CP005 permissive lampbox.
Functions:
Trips Turbine
Trips MFPs
Trips SUFP
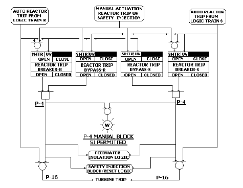
What is the P-16 permissive interlock?
P-4 [1/2]
OR
Rx trip logic signal from SSPS [1/2]
Not on CP005 permissive lampbox.
Function:
Trips Turbine
What is the C-8 control interlock?
EH Pressure < 1245.8 psig [2/3]
OR
TV Valves Closed [2/4]
Not on CP005 permissive lampbox.
Functions:
Rx Trip w/ P-9 (PR NIs ≥ 50% [2/4])
MG Trip
Arms Steam Dumps in Trip mode
Tavg mode w/ no load setpoint (567 ˚F)
What is the C-17 control interlock?
Not on CP005 permissive lampbox.
Function:
Blocks raising turbine load
Note:
Tavg/Tref setpoint determined on 100% Auctioneered Low Tavg
What is the C-20 control interlock?
Function:
Arms AMSAC
(ATWS circuitry)
What is the P-4 permissive interlock?
Respective Safety Train’s:
Rx Trip Breaker Open
AND
Rx Trip Bypass Breaker Open
Resetting SI:
Rx Trip Breakers Open [2/2]
AND
Rx Trip Bypass Breakers Open [2/2]
CP005 lampbox light lit when P-4 True.
Functions:
Turbine Trip
Isolates S/G BD (if SR Flux trip blocked)
FWI on Tavg - Low (574 ˚F)
Blocks / Reset SI
[2/2 AND 2/2]

What is the P-7 permissive interlock?
P-10 (PR NI’s ≥ 10%) [2/4]
OR
P-13 (Turbine Impulse Pressure ≥ 10%) [1/2]
PT-505 OR PT-506
CP005 lampbox light lit when < P-10 AND < P-13.
Permissive for Rx Trips:
PZR Pressure - Low (1870 psig) [2/4]
PZR Level - High (92%) [2/4]
RCS Flow - Low (91.8%)
RCP UF (57.2 Hz) [2/4]
RCP UV (72.6% for 1.5 sec) [2/4]

What is the P-8 permissive interlock?
PR NIs ≥ 40% [2/4]
CP005 lampbox light lit when < P-8.
Functions:
PR NIs < 40% [3/4]
Rx Trip: RCS Flow - Low (91.8%) [2/3 on 2/4]
PR NIs ≥ 40% [2/4]
Rx Trip: RCS Flow - Low (91.8%) [2/3 on 1/4]

What is the P-9 permissive interlock?
PR NIs ≥ 50% [2/4]
CP005 lampbox light lit when < P-9.
Function:
Trips the Rx on Turbine Trip

What is the P-10 permissive interlock?
PR NIs ≥ 10% [2/4]
CP005 lampbox light lit when ≥ P-10.
Permissive:
Manual Block C-1 (IR NIs >20%) [1/2]
Stops all rod out motion
Manual Block PR Flux High - Low (25%) [2/4]
Manual Block IR Flux - High (25%) [1/2]
Auto Blocks SR Flux - High (1x105 cps) [1/2]
Input to P-7

What is the P-11 permissive interlock?
CP005 lampbox light lit when < P-11.
PZR Pressure
Blocks SI / SLI Signals
PZR Pressure - Low (1857 psig) [2/4]
Steam Pressure - Low (735 psig) [2/3 on 1/4]
Allows closure of SI Accumulator outlet valves
PZR Pressure ≥ 1985 psig [2/3]
AUTO Opens SI Accumulator outlet valves

What is the P-12 permissive interlock?
Tavg < 563 ˚F [2/4]
CP005 lampbox light lit when < P-12.
Functions:
Blocks Steam Dump Operations
Vents air from steam dump operators

What is the P-13 permissive interlock?
CP005 lampbox light lit when < P-13.
Function:
Input to P-7

What is the C-1 control interlock?
IR NIs > 20% [1/2]
Not on CP005 permissive lampbox.
Function:
Stops MANUAL AND AUTO outward rod motion
Manual Blocked > P-10
Auto Unblock ≤ P-10

What is the C-2 control interlock?
PR NIs > 103% [1/4]
Not on CP005 permissive lampbox.
Function:
Stops MANUAL AND AUTO outward rod motion

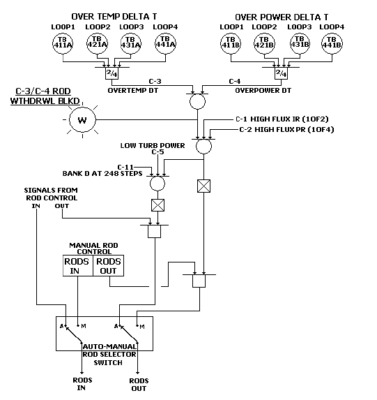
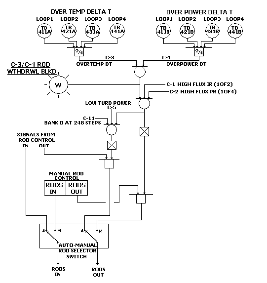
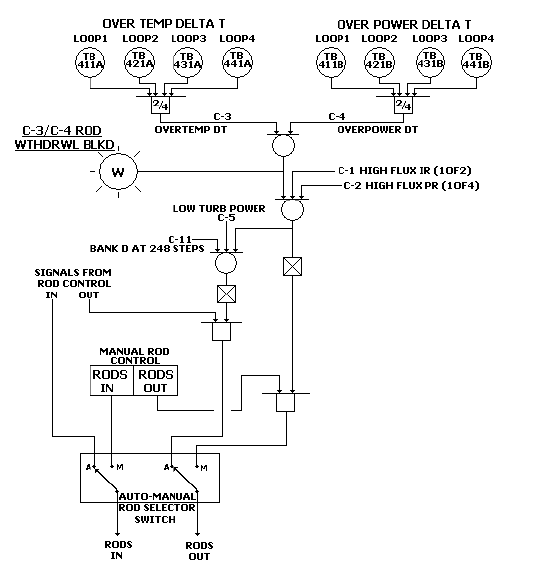
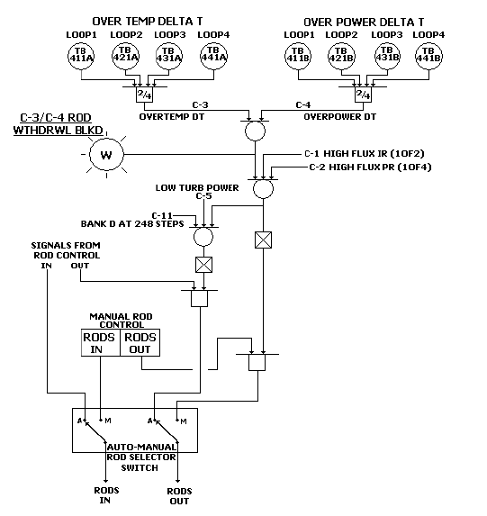
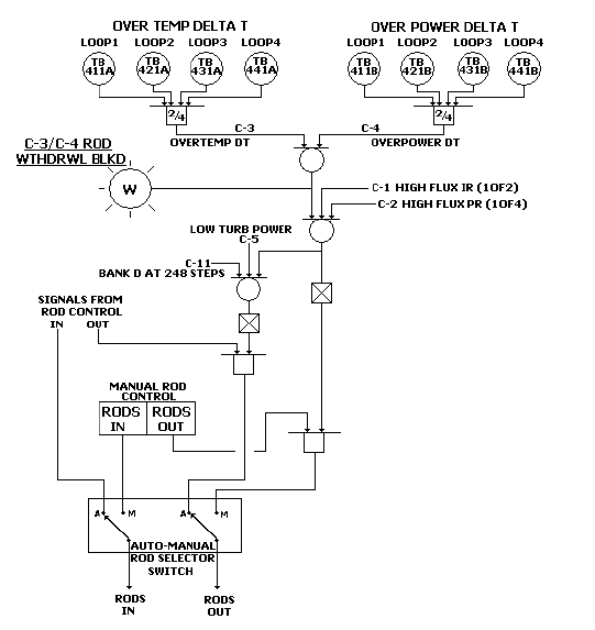
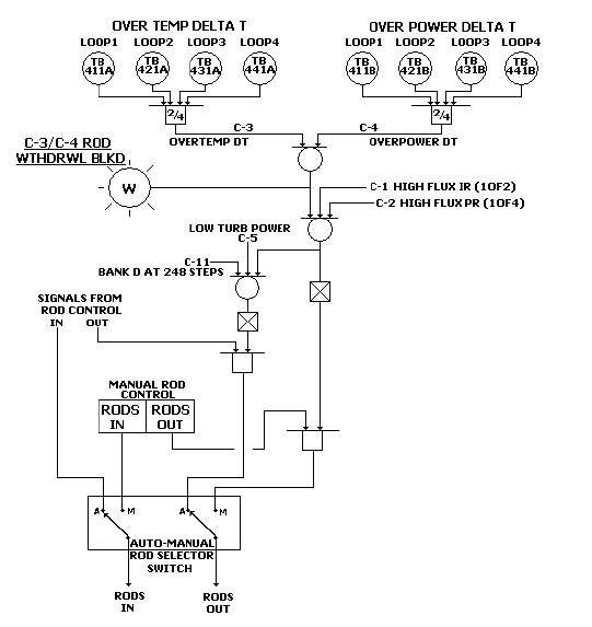
What is the C-3 control interlock?
OT∆T < 1.5% of setpoint [2/4]
CP005 lampbox light lit when C-3 True.
Function:
Stops MANUAL AND AUTO outward rod motion

What is the C-4 control interlock?
OP∆T < 1.5% of setpoint [2/4]
CP005 lampbox light lit when C-4 True.
Function:
Stops MANUAL AND AUTO outward rod motion

What is the C-5 control interlock?
Turbine Impulse Pressure < 15% [1/1]
PT-505
Not on CP005 permissive lampbox.
Function:
Stops AUTO outward rod motion

What is the C-7 control interlock?
Impulse Pressure > 10% Step load loss [1/1]
PT-506
OR
Impulse Pressure > 5%/min load loss [1/1]
PT-506
CP005 lampbox light lit when C-7 True.
Functions:
If C-9 TRUE AND Steam dumps in Tavg mode, then arms steam dumps

What is the C-9 control interlock?
Condenser Vacuum > 22” Hg [2/3]
AND
CW Breaker Closed [1/4]
CP005 lampbox light lit when C-9 True.
Function:
Allows Steam dump operation

What is the C-11 control interlock?
Control Bank D ≥ 248 steps
CP005 lampbox light lit when C-11 True.
Function:
Stops AUTO outward rod motion
