What are the ESF support systems?
ECW cooling pond
ECW
CCW
ESF DG’s
What PZR Level deviation will automatically turn on PZR B/U Heaters?
Done to preheat PZR insurge.

How long will the Non-Class 1E batteries last on a loss of battery charger power?
2 hrs
Will fully recharge in 12 hrs
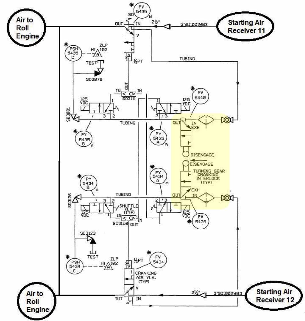
What pressure in the starting air receivers will make the ESF DGs INOPERABLE?
< 175 psig in BOTH
5 consecutive starts w/o recharge.
If the fire protection pump auto starts, what is the only thing that will trip the pump?
Mechanical Overspeed

Applies if pumps start on Low Header Pressure, Loss of power, or remote start from either control room. (CP018)
Note:
Cannot be stopped from control room.
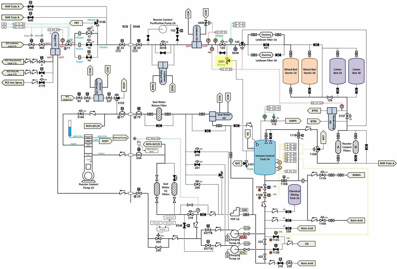
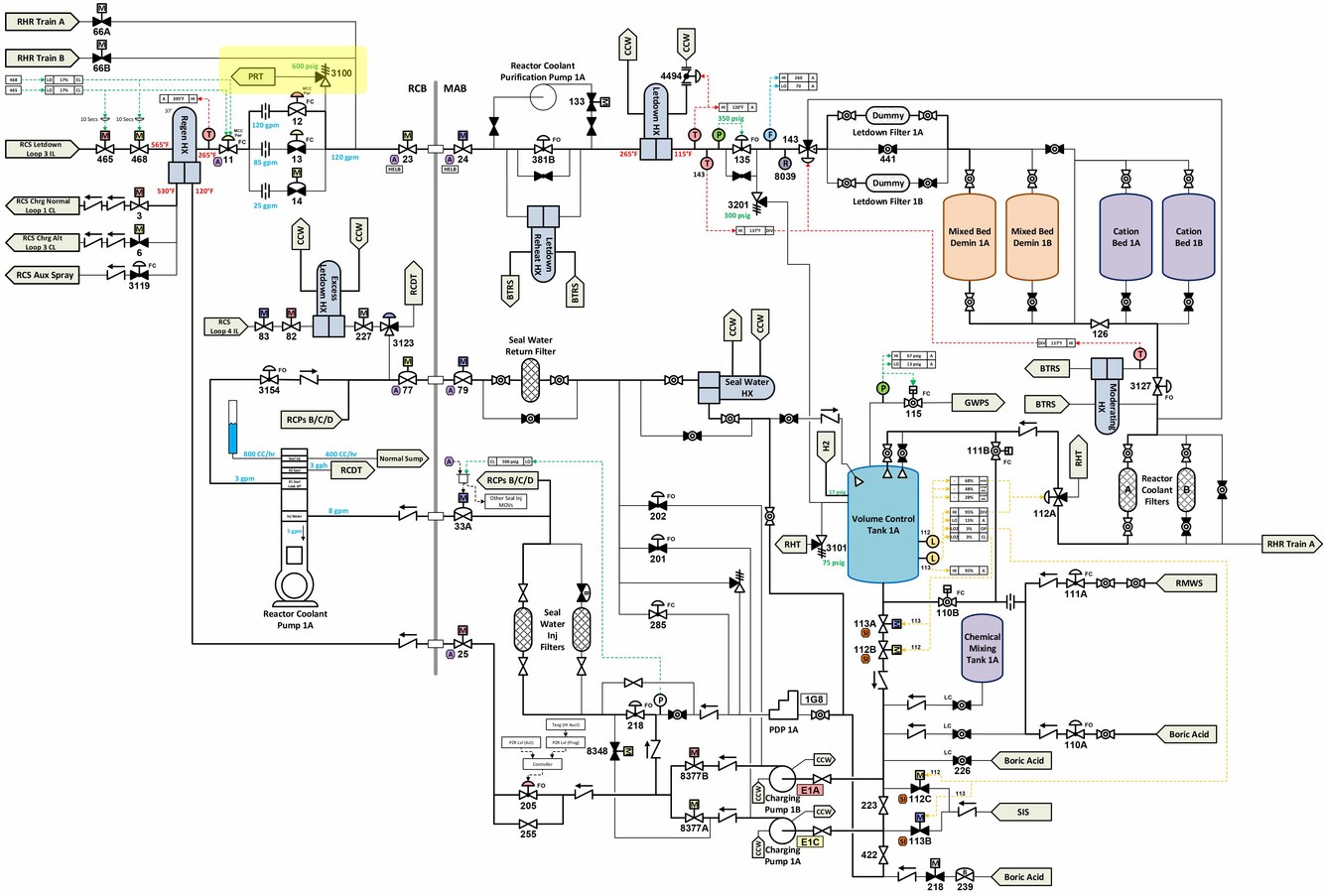
At what pressure will the low pressure letdown relief valve (CV-3201) lift?
300 psig

Relieves to VCT.
What is Keff, RTP, and Tavg when the plant is in MODE 3?
Hot Standby:

What will trip a CW pump?
Discharge MOV NOT ≥ 35% open in 32 sec
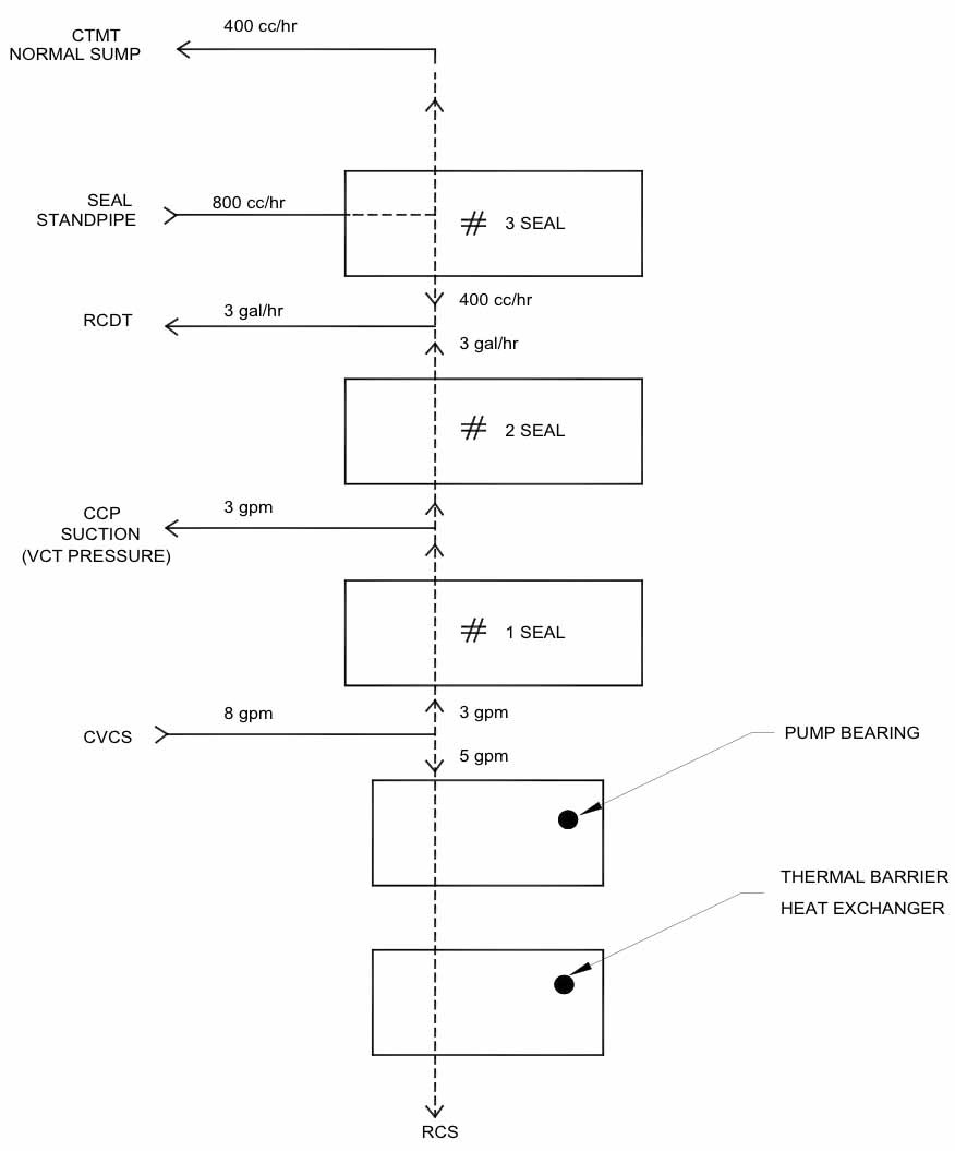
What is the flowrate and flowpath of the #3 Seal?

At what pressure will the PZR PORV auto open signal blocked?
2185 psig
Tailpipe temperature for PORVs and Safeties on CP004. (PORV: TI-676 / Safeties: TI-677 - 679)
What is the CW pump securing sequence?
Discharge MOV fully Closes
Valves Remain As-Is (95% Open / Fully Open)
Must wait 5 mins between securing pumps
Note:
PTL:**Bypasses 5 min TD but Discharge MOVs will still fully close
What systems make up the ESF system?
What will auto open the GSS Condenser bypass valve (PDV-7020)?

GSS Condenser Inlet (MOV-084) closed
GSS Condenser Outlet (MOV-082) closed
Loss of IA / Electrical Power
How many battery chargers are in-service per channel on the Class 1E 125VDC system?
One Battery Charger
Class 1E battery charger output breakers are administratively controlled to prevent both breakers being closed at the same time. (Allowed for 15 mins for battery charger swapping)
What provides control power to load centers?
125 VDC Control Power
MCCs provide their own control power.
What is the rod speed for each control rod during auto and manual control?
Control Banks:

What provides power for the H2 recombiners and the H2 monitors?
What is the half accuracy of DRPI when channel B fails?
+4 / -10 Steps

At what pressure will the letdown relief valve (CV-3100) lift?
600 psig

Relieves to PRT.
How does the turning gear interlock prevent the ESF DG from starting?
Blocks starting air if turning gear not fully disengaged

Which containment radiation monitor is covered by tech specs to aid the operators in RCS leak detection? (LCO 3.4.6.1 RCS Leak Detection)
RCB Atmosphere Monitor RE-8011A (Particulate)

LCO 3.4.6.1 RCS Leak detection
Applicable in MODES 1 - 4
What Rx trips are defeated when the master relay defeat switch is in the “defeat/cvi available” or the “defeat all” positions?

SG Level - Low 2 (20%) [2/4 on 1/4]

What will auto start / stop the DC Standby Fuel Oil Pump?
Power Supply: Non-Class 125VDC 1B
What is Keff, RTP, and Tavg when the plant is in MODE 4?
Hot Shutdown:
