What are thin-slab MIP most useful for evaluation of?
Smaller branches
How many seconds will be required for a sequential (“step and shoot”) CT scan?
5 seconds
Describe maximum intensity projection (MIP)
What is the main disadvantage of curved MPR images?
Potential for misinterpretation of stenosis resulting from an off-axis centerline placement
What algorithm is most commonly used in reconstruction of CT images?
Filtered back-projection (FBP)
At what portion of the cardiac cycle is there typically the least coronary motion?
Diastasis
What is the contrast to noise ratio (CNR) considered non-diagnostic for a CT examination?
« 1
What reconstruction increment (slice interval) and slice thickness, respectively, will result in isovolumetric voxel dimensions?
Voxel dimension (z-axis) = 0.4 mm; slice thickness is irrelevant
What cardiac phase is least likely to show motion artifacts in the RCA?
80%
What is the temporal resolution?
100-200 ms
What is the difference in pitch?
**** Pitch does not apply to step and shoot imaging
What is the main disadvantage of MPR?
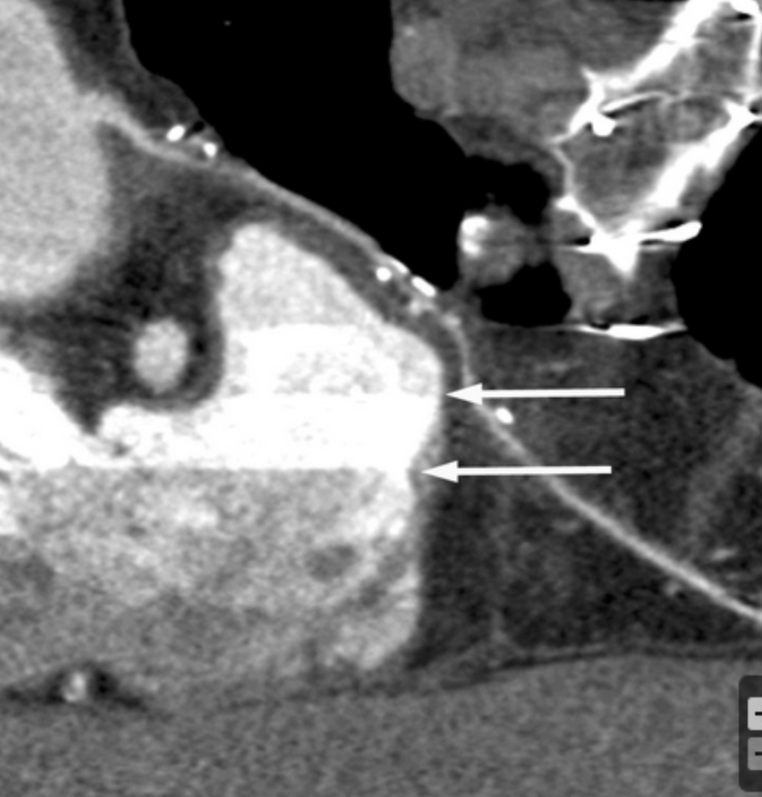
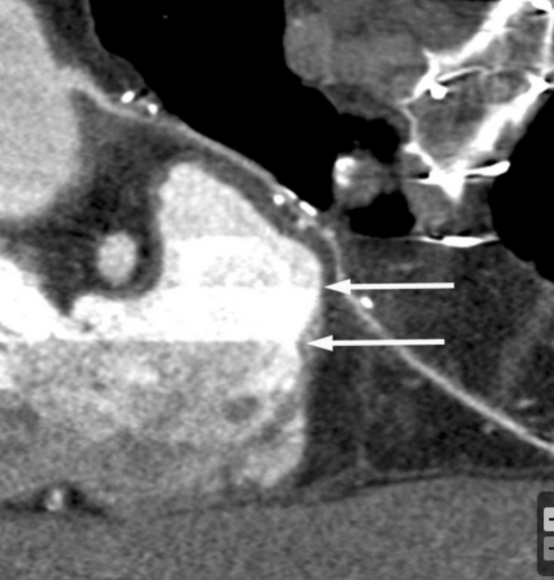
Describe the findings and technique used to improve the quality of the image


Where is the temporal resolution optimized within a CT dataset acquired in a cranio-caudal direction?
Circumferential center of the scan
Which phase in the cardiac cycle is generally optimal for image reconstruction?
Mid-diastole (diastasis)
Describe the findings:

Normal inflow pattern

In which circumstance can multi-cycle reconstruction improve CT image quality?
HR > 80 bpm
Describe features of sharp reconstruction kernels / filters
*****no effect on radiation exposure