What is the definition of a transient ischaemic attack?
Neurological deficit lasting less than 24 hours attributable to cerebral or retinal ischaemia
(there is a reduced blood supply to both the brain and the retina)
How long do most TIAs last for?
Most TIAs only last for a few minutes
The vast majority last for under 60 minutes
A TIA can sometimes be associated with brain damage, even if the symptoms only last for 5-10 minutes
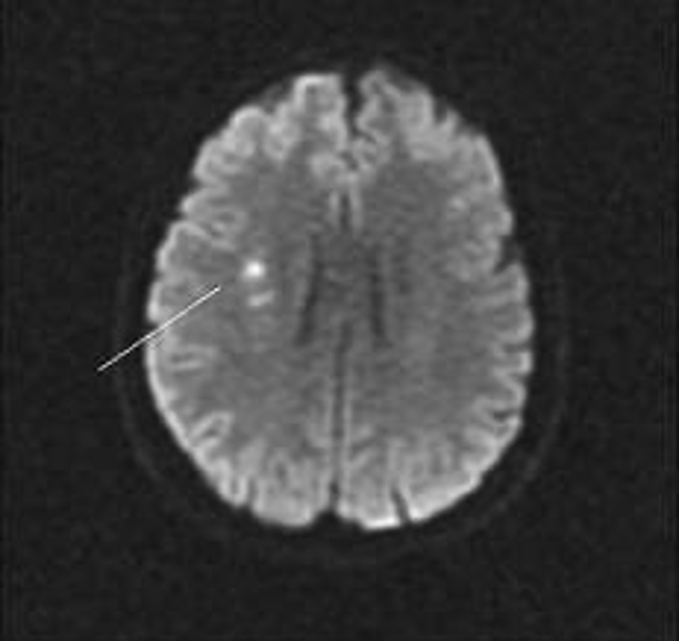
What type of scan can be used to identify damage caused as a result of TIA?
Diffusion-weighted MRI imaging shows areas of cytotoxic oedema

How are the causes of TIA and stroke related?
The causes are the same
Patients with TIA have the same vascular risk factors as stroke
e.g. diabetes, hypertension, high cholesterol, etc.
If symptoms resolve within 24 hours, what type of scan should be conducted?
If symptoms resolve within 24 hours, you can be certain that there is not a bleed so a scan is not needed
the only way to distinguish between haemorrhage and infarct is a CT brain scan
Why is it important to identify a TIA and distinguish it from a stroke?
TIAs represent a window of opportunity to treat
20% of strokes are preceded by a TIA
If someone has a TIA, there is an opportunity to try and prevent stroke
How common are TIAs?
In one year, approximately how many cases would be seen by a GP?
The incidence is 50 / 100,000 population
this mirrors the incidence of stroke
on average, a GP will see 5 TIA cases in a year
Why may a GP often suspect that they see more than 5 TIA cases in a year?
TIAs can overlap with other conditions
more common conditions which are seen in clinic may be a TIA mimic
these conditions mimic TIA symptoms, but are not actually a TIA
What is meant by positive and negative symptoms?
Which line represents a TIA?

Positive symptoms include tingling, flashing lights, etc. - things that aren’t actually present
negative symptoms include loss of movement, vision etc.
Line C represents a TIA
it comes on suddenly and is associated with loss of function (negative symptoms)
it lasts a few minutes and then symptoms improve

What do lines A and B represent?

A - migraine with aura:
B - epilepsy / seizure:
What is Todd’s paresis?
Focal weakness in a part or all of the body after a seizure
It usually subsides within 48 hours
What are the 5 main conditions which act as TIA mimics?
What symptoms of a migraine aura often lead it to becoming confused with a TIA?
If the content of the speech is abnormal i.e. words are strung together that don’t make sense (dysphasia)
slight facial asymmetry
After confirming a TIA, what is the first part of the assessment?
Working out which part of the brain or vascular territory that the event has occurred in
i.e. Is it in the anterior or posterior circulation?
What symptoms would you see if the TIA was in the anterior circulation?
this involves the internal carotid arteries
What is amarausis fugax?
Which artery is implicated in order for this to be present?
The opthalmic artery, which is a branch of the internal carotid artery
this is ischaemia of the retina
patients complain of seeing a veil coming down over their eye
altitudinal field defect - the patient cannot see above and/or below horizontal

What types of symptoms would be present if the cause of TIA affected the posterior circulation?
Which vessels are involved?
Involves the vertebral arteries
these supply the brainstem, cerebellum and visual cortex

What is ataxia?
a neurological sign consisting of lack of voluntary coordination of muscle movements that can include gait abnormality, speech changes, and abnormalities in eye movements
What are the 3 signs / symptoms which can occur in a TIA in either the posterior or anterior circulation?
weakness or hemisensory loss pathways run from the anterior cerebral cortex, through the brainstem (posterior circulation), so you cannot distinguish which circulation is affected by these symptoms
What is hemianopia?
Blindness over half the field of vision
What is meant by hemiparesis and hemisensory loss?
Hemiparesis:
Hemisensory loss:
How does having a TIA influence risk of having a stroke?
Patients who have had a TIA are at high risk of having a stroke within a few days

What tool is used to work out the risk of stroke following TIA?
ABCD2 Score for TIA
Age - 1 if over 60
Blood pressure - 1 if over 140/90
Clinical features - 2 if unilateral weakness, 1 if speech disturbance
Duration of symptoms - 2 if > 60 mins, 1 if 10-59 mins, 0 if < 10 mins
Diabetes - 1 if yes, 0 if no
What does the ABCD2 score tell you about the risk of stroke?
Low risk is < 4
Moderate risk is 4 or 5
High risk is > 5
