SSPS and Eagle Flashcards

(28 cards)

1
Q

What are all the inputs to SSPS?

A
  • Eagle 21
  • Ni’s
  • Seismic
  • Field contacts
How well did you know this?
1
Not at all
2
3
4
5
Perfectly
2
Q

What are the field contacts that input to SSPS?

A
  • RCP Breaker
  • RCP UV
  • RCP UF
  • AST oil pressure
  • SV position
How well did you know this?
1
Not at all
2
3
4
5
Perfectly
3
Q

What is the major function of:

eagle 21

SSPS

A

eagle 21 - determine if parameter exceeds setpoint

SSPS - determine if coincidence is met for an actuation

How well did you know this?
1
Not at all
2
3
4
5
Perfectly
4
Q

How many ways are there to actuate a slave relay?

What are the different ways?

A

two

  • Master relay - provides 48 volts (control power) to close contact allowing 120 volts to loads from safeguards driver
  • Test - provides 48 volts (control power) to close contact allowing 120 volts to loads from test panel
How well did you know this?
1
Not at all
2
3
4
5
Perfectly
5
Q

Do the Ni racks input into eagle 21?

A
  • Yes, but only for OPAT and OTAT calculations, delta I is sent from Ni’s -> eagle 21 (LCP does calc)
  • Ni’s determine own setpoints and send to SSPS directly
How well did you know this?
1
Not at all
2
3
4
5
Perfectly
6
Q

Why do the majority of channels in RPS de-energize to actuate?

Which channels energize to actuate?

A
  • ensures channels are fail-safe except those that would cause major plant upset if actuated erroniously
  • energize to actuate
    • CNMT Spray actuation chnls
    • Seismic trip chnls
    • RCP bus UF chnls
    • SLI
How well did you know this?
1
Not at all
2
3
4
5
Perfectly
7
Q

What does it mean if a channel bistable (postage stamp) is blinking?

A

The bistable is tripped but only by one train (A or B)

in MUX we set one train to monitor A+B => the trains are alternated when sending light to postage stamp. If blinking, we know one train actuated but other did not

How well did you know this?
1
Not at all
2
3
4
5
Perfectly
8
Q

What parameter affect OT delta T?

How do they affect it?

A
  • Tave
    • Tave up -> setpoint down
    • Tave down -> setpoint up
  • Ppzr
    • Ppzr up -> setpoint up
    • Ppzr down -> setpoint down
  • delta I
    • delta I up -> setpoint down
    • delta I down -> setpoint down
How well did you know this?
1
Not at all
2
3
4
5
Perfectly
9
Q

What parameters affect OP delta T?

How do they affect the setpoint?

A
  • Tave
    • ​Tave up -> setpoint down
    • Tave down -> no effect

OP delta T only has penaties, no bonus points

How well did you know this?
1
Not at all
2
3
4
5
Perfectly
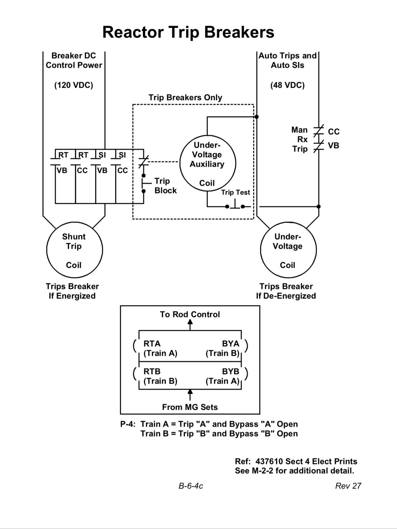
10
Q

Which trip breakers give you P-4a?

P-4b?

What breakers does SSPS train A actuate?

SSPS train B?

A
  • P-4a = RTB A + BYP A
  • P-4b = RTB B + BYP B
  • train A actuates: RTB A + BYP B
  • train B actuates: RTB B + BYP A
How well did you know this?
1
Not at all
2
3
4
5
Perfectly
11
Q

How are the BYP rx trip breakers different from the RTB?

Which of the following trips does not directly actuate both the UV trip coil and Shunt trip coil?

Manual SI

Auto SI

Manual Rx trip

Auto Rx trip

A
  • BYP do not have the UV aux coil => auto trips will not energize the shunt coil
  • Manual SI does not de-energize the UV coil
    • however all SI give you auto Rx trip signal
How well did you know this?
1
Not at all
2
3
4
5
Perfectly
12
Q

What are the “monitor Light boxes” indicating?

Briefly describe what is being monitored by Monitor Light Box:

A

B

C

D

A
  • If valves or components are out of their required positions (based on plant conditions), (out of position = illuminated)
  • A - ESF valves (pre actuation)
  • B - Phase A and CVI valves
  • C - SI, FWI, SG equipment
  • D - Phase B and SLI
How well did you know this?
1
Not at all
2
3
4
5
Perfectly
13
Q

What are the “Bistable Status lights” (postage stamps) monitoring?

What are the P.S. to the lights?

A
  • provides indication to control room of all input signals to ESFAS (trip or non-trip)(P-signals, C-signals, Rx trips, ESFAS actuations)
  • Ch 1 - PY-14
  • Ch 2 - PY-11A
  • Ch 3 - PY- 12
  • Ch 4 - PY-13A
How well did you know this?
1
Not at all
2
3
4
5
Perfectly
14
Q

What are the Power supplies to:

Monitor Box A

Monitor Box B

Monitor Box C

Monitor Box D

A
  • A
    • PY-12
  • B
    • Trn A PY-13A
    • Trn B PY-12
  • C
    • PY-12
  • D
    • Trn A PY-13A
    • Trn B PY-12
How well did you know this?
1
Not at all
2
3
4
5
Perfectly
15
Q

When do the “Monitor Light Boxes” provide indication of valves and components out of position?

When do the “Bistable Status Lights” provide indication of inputs to ESFAS?

A
  • B, C, and D are armed 20 seconds after an actuation signal, then provide indication
  • A is always armed and providing indication
  • BSL are always providing indication of inputs
How well did you know this?
1
Not at all
2
3
4
5
Perfectly
16
Q

Briefly describe the following:

Eagle RTD Input (ERI)

Eagle Analog Input (EAI)

Digital Filter Processor (DFP)

Loop Calculation Processor (LCP)

A

ERI - supplies pwr to RTD, converts return resistance to analog voltage

EAI - supplies pwr to xmtr, converts return current to analog voltage

DFP - recieves sig from ERI/ EAI, converts to dig, self diagnostics

LCP - recieves sig from DFP, determines if setpoint exceeded, performs calcs, if all good sends 1 to DDC

17
Q

Briefly describe the following:

Digital to Digital Converter (DDC)

Digital to Analog Converter (DAC)

Eagle Partial Trip (EPT)

Eagle Analog Output (EAO)

Eagle Contact Output (ECO)

A

DDC - recieves sig from LCP, if 1 transmits 5 vdc pulse to EPT, also acts as isolator

DAC - converts sig from LCP to analog value for EAO

EPT - if no 5 vdc pulse from DDC, stops allowing 120v to coil that is keeping contact open from ground

EAO - takes analog output from DAC and uses it for control and indication

ECO - takes digital output from DDC in tester subsystem and alarms if eagle not working properly

18
Q

List all actions that happen on SI

motors

valves

electric

misc

A

Motors:

  • CCP (ECCS)
  • SI
  • RHR
  • ASW
  • AFW (motor driven)
  • CFCU (low speed)
  • CCW

valves:

  • Charging inj valves open
  • Charging suct. valves swap VCT -> RWST
  • ACC outlet valves open (already open)
  • Normal Charging lines isolate

elec re-alignment:

  • DG’s start

Misc:

  • turbine trips
  • FW pump turbines trip
  • Phase A
  • CVI
  • FWI
  • ABVS -> Building and Safeguards mode
  • Input to CNMT Spray
19
Q

What will give you a CVI?

What does CVI do?

A

CVI inputs

  • manual Phase A
  • manual Phase B
  • Hi rad on RM-44A/B
  • SI

CVI outputs

  • FCV-660/661, RCV-11/12 (CNMT purge supply & exh)
  • FCV-662,663,664 (CNMT press & vacc relief)
  • FCV-678,679,681 (RM-11/12 supply & return)
20
Q

What will give you a Phase A isolation?

What are all the actions Phase A will cause?

A

Phase A inputs:

  • any SI
  • manual Phase A

Phase A outputs:

  • CRV -> mode 4
  • stops SFP -2
  • **manual Phase A will cause CVI
  • isolates all non-esential CNMT penitrations
21
Q

What will give you Phase B isolation?

What does Phase B actuate?

A

Phase B inputs:

  • Manual Phase B
  • CNMT Hi Hi (22 psig aka “P” signal)

Phase B outputs

  • Manual
    • CVI
  • Auto
    • SLI
  • Both
    • CNMT spray input
    • isolates CCW hdr ‘C’
    • isolates CCW cooling to RCP’s
22
Q

What will give you a feedwater isolation (FWI)?

What happens on each variation of FWI?

A
  • P-14 (>90% NR Ls/g)
  • SI
    • trip turbine
    • trip MFP (train B only)
    • close FWI valves (train A only)
    • close FRV’s
    • close FRV bypass valves
  • P-4 + Low Tave (<554 deg)
    • close FRV’s
    • close FRV bypass valves
23
Q

What are the actuation signals to AFW?

Turbine Driven

Motor Driven

A

TDAFW

  • L - low Ls/g (15% 2/3, 1/4 loops after time delay)
  • U - under power 12 KV bus
  • A - AMSAC

MDAFW

  • S - SI
  • L - low Ls/g (15% 2/3, 1/4 loops after time delay)
  • A - AMSAC
  • M - MFP trip (both)
  • D - bus xfr to DG
24
Q

If you get a CVI on Hi Rad (RM-44A and B), then depress CVI reset pushbutton, and reposition valves, will CVI still be available for the other automatic actuations?

A

Yes, any SI will still give you a CVI

see picture

25
If you get a FWI due to P-4 and Low Tave (\<554 deg), what must you do to re-open the FRV's? 1. cycle trip bkrs, reset FWI 2. raise Tave \> 554 deg, cycle trip bkrs, reset FWI 3. reset FWI
Reset FWI see picture
26
If you get an SI from low Ppzr, then Manual reset/block SI, will you get another SI from Low Pstm ln? How would you re-enable the auto SI after being blocked?
No Cycle RTB's see picture
27
What component has the "dead man timer"? How is timer used?
Eagle Partial Trip * the LCP generates a "1" or a "0", "1" is not tripped * 1 will tell DDC to generate a pulse (5 vdc) every 100 msec to the EPT * if EPT doesnt recieve a pulse every 120 msec, the dead man timer will time out and cause EPT to stop conducting 120 volts to coil that keeps contact open that will subsequently ground 15 volts and cause a logic of 1 out of whatever going forward
28
What will give you a GW alarm?
1. any power supply low 2. any circuit card in row 1-5 removed 3. **MUX test switch** in **inhibit** 4. **ground return fuse blown** 5. **Input error inhibit switch** in **inhibit** 6. **loss of 120 vac to slave relays** 7. fully **rack in BYP bkr** and **close** it (for RTB train that is being bypassed)